Вы здесь
Реле давления Г62
Реле давления ПГ62-11, БПГ62-11, ВПГ62-11, ГПГ62-11 и Г62-21М, выполненные в виде плунжерных устройств с электрическим микропереключателем, предназначены для контроля давления в гидравлических системах станков и других промышленных машин при давлениях до 32 МПа.
Реле давления, такие как ПГ62-11 и Г62-21, используются для автоматизации работы станков, таких как отключение инструментов при избыточном давлении, автоматическое перемещение суппорта при работе по упорам и другие функции. Управление этими функциями осуществляется на расстоянии с помощью золотниковых устройств.
Реле давления ПГ62-11 и Г62-21 предназначены для последовательного включения или выключения различных исполнительных механизмов и для дистанционного управления. Они могут сигнализировать о перегрузке системы, отправляя электросигнал, что позволяет контролировать давление в гидросистеме.
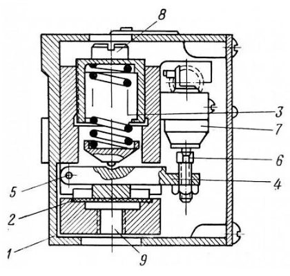
Принцип работы реле давления Г62
Реле давления состоит из корпуса 1, диафрагмы 2, пружины 3, рычага 4 с осью 5, винта 6, микропереключателя 7. Рабочая жидкость на контролируемой ветви гидросистемы подводится к отверстию 9. Если подведенное давление окажется выше установленного настройкой пружины 3, то диафрагма 2 деформируется и передает давление на рычаг 4, который при повороте вокруг оси 5 винтом 6 воздействует на микропереключатель 7.
Регулировка реле давления осуществляется при помощи изменения сжатия пружины 3 винтом 8. С момента начала деформации диафрагмы 2 до момента срабатывания реле давления типа Г62, т.е. до момента включения микропереключателя 7, произойдет увеличение давления, которое характеризует нечувствительность аппарата. Нечувствительность реле давления различных типоразмеров колеблется от 0,3 до 1,0 МПа. Контролируемое давление находится в диапазоне от 0,5 до 32 МПа.
Габаритные размеры Г62
Технические характеристики Г62
Параметр | Исполнения | ||||
ПГ62-11 | БПГ62-11 | ВПГ62-11 | ГПГ62-11 | Г62-21М | |
Контролируемое давление, МПа | 0,6 - 5,0 | 0,8 - 10,0 | 1,0 - 20,0 | 5,0 - 32,0 | 0,5 - 6,4 |
Нечувствительность (при работе с резиновым уплотнением на золотнике), МПа | 0,5 | 1 | 1,5 | 1,5 | 0,3 |
Утечка масла из дренажного отверстия не более, см³/мин | 10 | 20 | 50 | 50 | - |
Масса реле давления, кг | 3,0 | 3,0 | 3,0 | 3,0 | 1,5 |