Вы здесь
Клапан перепускной фланцевый RFF
Клапан перепускной фланцевый RFF поддерживает постоянное, предварительно установленное, давление на входе.
Пружина в клапане удерживает подвижное седло затвора в нормально-закрытом положении.
Если входное давление становится выше установленного, то клапан начинает открываться, увеличивая расход, тем самым уменьшая его давление на входе.
Если входное давление падает ниже установленного значения, клапан герметично закрывается.
Если клапан установлен на ответвлении от тройника, он может использоваться в качестве предохранительного клапана.
Особенности RFF
- Корпус выполнен из нержавеющей стали AISI 316;
- Манометр для индикации давления на входе;
- Конструктивные особенности штока и мембраны повышают точность поддержания давления и сокращают утечку рабочей среды;
- Сбалансированный по давлению плунжер быстро и точно реагирует на изменение давления;
- Ручная настройка давления на входе;
- Для полного открытия клапана необходим перепад давления мин. 1,5 бара.
Дополнительно по запросу
- Диапазон настройки давления 4...10 бар;
- Диаметр номинальный DN65...DN150;
- Давление номинальное PN25.
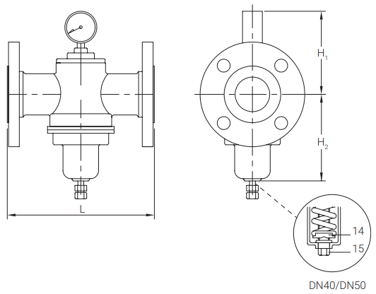
Габаритные размеры RFF

| Модель | DN, мм | L, мм | H1, мм | H2, мм |
| RFF-15-S | 15 | 150 | 110 | 75 |
| RFF-20-S | 20 | 150 | 115 | 75 |
| RFF-25-S | 25 | 150 | 115 | 81 |
| RFF-32-S | 32 | 190 | 130 | 100 |
| RFF-40-S | 40 | 190 | 130 | 100 |
| RFF-50-S | 50 | 192 | 130 | 110 |
Технические характеристики RFF
| Диаметр номинальный, мм | DN15…DN50 |
| Давление номинальное, бар | PN16 |
| Диапазон настройки давления, бар | 1...5 |
| Температура рабочей среды, ºC | -15…+100 (стандартное исполнение), +100...+150 (исполнение для пара) |
| Рабочая среда | Вода, воздух, пар и другие жидкости и газы нейтральные к материалам изделия |
| Присоединение | Фланцевое согласно EN 1092-1 |
| Модель | DN, мм | PN, бар | Kv, м3/ч * | Артикул | |
| Стандартное исполнение | Исполнение для пара | ||||
| RFF-15-S | 15 | 16 | 2,1 | 1ZBK | 1ZBE |
| RFF-20-S | 20 | 16 | 3,4 | 1ZBM | 1ZBF |
| RFF-25-S | 25 | 16 | 5,6 | 1ZBO | 1ZBG |
| RFF-32-S | 32 | 16 | 11,2 | 0XEK | 1ZBH |
| RFF-40-S | 40 | 16 | 11,2 | 1ZBP | 1ZBI |
| RFF-50-S | 50 | 16 | 14,7 | 14HM | 14HK |
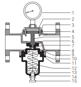
Спецификация

| Номер детали | Название детали | Стандартное исполнение | Исполнение для пара |
| 1 | Манометр | С глицерином | Без глицерина |
| 2 | Крышка верхняя | Сталь нержавеющая AISI 316 | Сталь нержавеющая AISI 316 |
| 3 | Кольцо уплотнительное | FKM (Viton) фторуглеродный каучук | FKM (Viton) фторуглеродный каучук |
| 4 | Кольцо уплотнительное | FKM (Viton) фторуглеродный каучук | FKM (Viton) фторуглеродный каучук |
| 5 | Шток | Сталь нержавеющая AISI 316 | Сталь нержавеющая AISI 316 |
| 6 | Уплотняющая прокладка | FKM (Viton) фторуглеродный каучук | PTFE (Teflon) политетрафторэтилен |
| 7 | Седловое уплотнение | Сталь нержавеющая AISI 316 | Сталь нержавеющая AISI 316 |
| 8 | Корпус | Сталь нержавеющая AISI 316 | Сталь нержавеющая AISI 316 |
| 9 | Мембрана | FKM (Viton) фторуглеродный каучук | – |
| 10 | Кольцо уплотнительное | FKM (Viton) фторуглеродный каучук | PTFE (Teflon) политетрафторэтилен |
| 11 | Кольцо U-образное | FKM (Viton) фторуглеродный каучук | FKM (Viton) фторуглеродный каучук |
| 12 | Пружина | Сталь пружинная | Сталь пружинная |
| 13 | Крышка нижняя | Сталь нержавеющая AISI 316 | Сталь нержавеющая AISI 316 |
| 14 | Шайба | Латунь | Латунь |
| 15 | Болт для настройки | Сталь нержавеющая AISI 304 | Сталь нержавеющая AISI 304 |



