Вы здесь
Регуляторы давления ПГ57-62, ПГ57-64
Регуляторы давления ПГ57-62 и ПГ57-64 предназначены для поддержания пониженного давления в уравновешивающих цилиндрах вертикально расположенных рабочих органов станков и других гидрофицированных машин.
Регуляторы давления серии ПГ57-6, используемые для уравновешивающих цилиндров, оснащены двумя дросселирующими кромками на золотнике. Благодаря этому, в зависимости от направления потока масла в отводном отверстии, они могут работать как в предохранительном, так и в редукционном режимах.
Конструкция ПГ57-62 и ПГ57-64
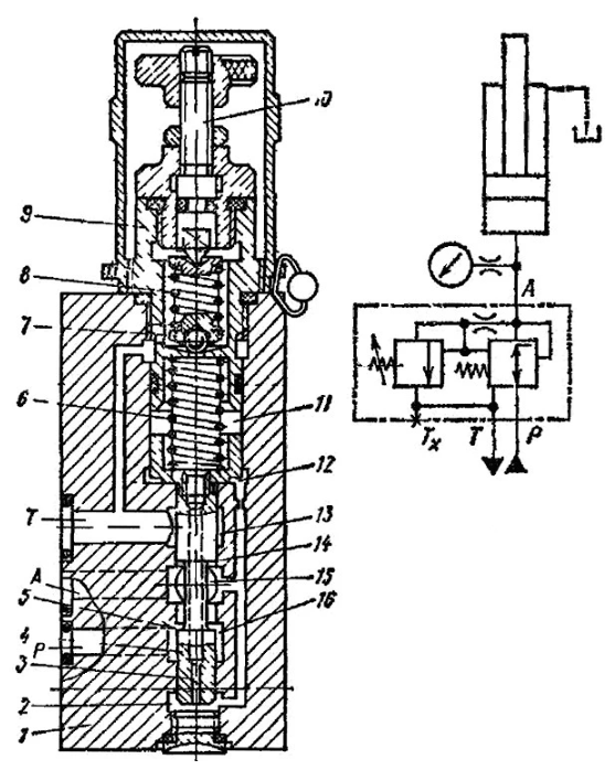
Регуляторы давления ПГ57-6 (см. рисунок ниже) содержат корпус 1, двухкромочный переливной золотник 4, вспомогательный клапан 7, крышку 9, пружины 6, 8 и регулировочный винт 10 Масло из напорной линии Р подводится в полость 16 и далее через щель между корпусом и кромкой 5 поступает в полость 15, соединенную с уравновешивающим цилиндром линией А. Полость 15 каналами в корпусе соединена с нижними торцовыми полостями 2 и 12 золотника 4 и через малое отверстие 3 в золотнике — с верхней торцовой полостью 11, откуда масло через клапан 7 может поступать в полость 13, соединенную со сливной линией Т.
Таким образом, когда поток масла входит в уравновешивающий цилиндр (движение вверх), регулятор работает аналогично редукционному клапану непрямого действия, а при движении вниз - подобно предохранительному клапану непрямого действия, перепускающему масло в бак из линии А через щель между корпусом и кромкой 14 золотника. Поскольку при работе в обоих режимах давление определяется настройкой одного и того же клапана 7, усилие уравновешивания остается практически постоянным (в том числе и при остановке рабочего органа), а наличие положительного перекрытия по дросселирующим кромкам 5 и 14 исключает возможность потока от линии Р к линии Т.
Конструкция регуляторов давления ПГ57-62, ПГ57-64 (слева) и типовая схема применения (справа)

Габаритные размеры регулятора ПГ57-62, ПГ57-64

| Модель | D | d | d1 | L | l | B | b | b1 | b2 | b3 |
| ПГ57-62 | 16 | 10 | 11 | 59 | 45 | 70 | 50 | 38 | 12 | 25 |
| ПГ57-64 | 25 | 18 | 13 | 72 | 58 | 96 | 67 | 53.5 | 13.5 | 22 |
| Модель | b4 | b5 | H | H1 | h | h1 | h2 | h3 | h4 | h5 |
| ПГ57-62 | 10 | 10 | 188 | 120 | 41 | 13 | 28 | 13 | 13 | 64 |
| ПГ57-64 | 33.5 | 33.5 | 235 | 135 | 63 | 20 | 43 | 6 | 37 | 55 |
Технические характеристики ПГ57-62, ПГ57-64
| Параметры | Регулятор давления ПГ57-62 | Регулятор давления ПГ57-64 |
| Условный проход регулятора, мм | 10 | 20 |
| Расход рабочей жидкости номинальный / максимальный / минимальный, л/мин | 20 / 40 / 0 | 80 / 100 / 0 |
| Давление в напорной линии, МПа | 0,5...10,0 | |
| Давление в полости уравновешивающего цилиндра, МПа | 0,6...5,0 | |
| Изменение установленного давления в полости уравновешивающего цилиндра при различных направлениях потока не более, МПа | 0,4 | |
| Расход масла через вспомогательный клапан не более, л/мин | 1,0 | |
| Минимальная разница между давлениями на входе и в полости уравновешивающего цилиндра, МПа | 0,5 | |
| Масса не более, кг | 3,2 | 4,8 |



