Вы здесь
Фланцы из полипропилена (ПП)
Общая надежность трубопроводной системы определяется прочностью её наиболее уязвимого элемента.
При монтаже пластиковых трубопроводов широко применяются полипропиленовые фланцы, которые для обеспечения требуемых эксплуатационных характеристик должны строго соответствовать техническим условиям.
Производство полипропиленовых фланцев может осуществляться методом литья под давлением, штамповки или механической обработки заготовок на специализированном оборудовании.
Эксплуатационные параметры продукции регламентируются положениями действующего стандарта ГОСТ 12815-80.
По конструктивным особенностям фланцы могут быть следующих видов:
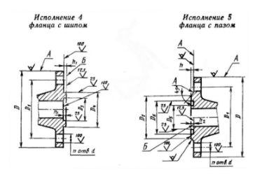
С соединительным выступом. Может иметь два вида

С впадиной и выступом

С шипом и пазом

Под прокладку овального сечения

Под линзовую прокладку

Отверстия для болтов располагаются симметрично по отношению к главным осям фланцев плоских, но не на них.
Стандарт устанавливает на фланец из ПП предельные отклонения от размеров в следующих параметрах:
| Номинальный размер | Пределы отклонений | 
| h1 и h2 | + 0,5 мм | 
| D2 | ± 4,0 мм | 
| D3, D6 | Н12 | 
| D4, D5 | h12 | 
| D7 | ± 0,75 мм | 
| D8 | ± 0,15 мм | 
| b2, h3 | 0,4 мм | 
| d | Н15 | 
| D9 | h14 | 
В зависимости от конкретного места использования фланцы плоские различаются по следующим характеристикам:
- Условный проход. Внутренний диаметр присоединяемого трубопровода, может иметь значения 50, 63, 90, 110, 125 и более миллиметров. По требованию заказчика размеры фланцев плоских могут изменяться с учетом особенностей существующего или монтируемого трубопровода.
 - Межосевым расстоянием между отверстиями для фиксации. Расстояние по умолчанию стандартное, при необходимости фланец полипропиленовый может изготавливаться по индивидуальному техническому заданию.
 - Максимальному давлению. Показатель характеризует максимальное давление, которое может выдерживать фланец из пластика.
 - Рабочей температуре. Пластиковый фланец меняет показатели физической прочности в зависимости от температуры нагрева. Температура нагрева отвечает показателям температуры рабочей жидкости или газов, транспортируемых по трубопроводам и нагревающим фланец из ПП.
 - Диаметру отверстий под соединительные болты или шпильки.
 
Изменение показателей максимальных нагрузок в зависимости от температуры

Свободный фланец из ПП с опорой на один бурт используется во время соединения трубопроводов с диаметром до 300 мм, фланцы с опорой на конусные бурты используются во время монтажа систем с большим диаметром. К каждому размеру рассчитываются параметры соединительной арматуры.
Факторы совместимости и безопасности
Сварка полипропиленовых фланцев с другими материалами допускается только после проверки соответствия индекса расплава (MFI) согласно международной классификации DVS. Показатели текучести материалов должны иметь близкие значения. При соединении элементов из различных марок полипропилена обязательным является проведение предварительных испытаний. Использование плоских фланцев в трубопроводных системах разрешается только после получения положительных результатов испытаний.
Технология сварки не должна оказывать негативного влияния на физико-механические свойства фланцев. Прочностные характеристики полипропиленовых фланцев должны соответствовать установленным техническим требованиям.

Требования к материалам изготовления
Фланцы изготавливаются из полипропилена согласно ГОСТ 2696-86, который предусматривает использование материалов низкого и среднего давления в зависимости от требований заказчика. Стандарт регламентирует для каждой марки: показатель текучести расплава, содержание примесей, массовую долю золы и летучих веществ, стойкость к термоокислительному старению, ударную вязкость, относительное удлинение при разрыве и другие характеристики.

			


