Вы здесь
Толкатели электрогидравлические ТЭ-30, ТЭ-50, ТЭ-80
Электрогидравлические толкатели моделей ТЭ-30-СУ У2, ТЭ-50-СУ У2 и ТЭ-80-СУ У2 используются в качестве приводных устройств для пружинных колодочных тормозов, устанавливаемых на подъёмно-транспортном и другом промышленном оборудовании.
Они предназначены для работы в составе тормозных механизмов, применяемых в кранах, кран-балках, лебёдках, конвейерах и аналогичных установках.
Помимо этого, толкатели ТЭ могут быть задействованы для приведения в движение различных исполнительных узлов — таких как заслонки, шиберы, люки и прочие элементы, требующие поступательного перемещения.
Устройства данной серии обеспечивают плавную и надёжную работу, повышая эффективность тормозных и автоматизированных систем. Благодаря этому они широко востребованы в промышленном и строительном секторах.
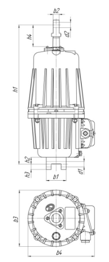
Габаритные размеры
Тип Толкателя | b1 | b2 | b3 | b4 | d1 | d2 | h1 | h2 | h3 | h4 |
ТЭ-30 | 40 | 12 | 170 | 200 | 12 | 12 | 343 | 14 | 12 | 26 |
ТЭ-50 | 60 | 18 | 170 | 200 | 16 | 16 | 420 | 21 | 16 | 65 |
ТЭ-80 | 60 | 18 | 170 | 200 | 16 | 16 | 437 | 21 | 16 | 82 |
Технические характеристики
Наименование параметра | Ед. изм. | Значение параметра | ||
ТЭ-30 | ТЭ-50 | ТЭ-80 | ||
Напряжение 3-фазной питающей сети | В | 660, 380/220 | 660, 380/220 | 660, 380/220 |
Частота питающей сети | Гц | 50 (60) | 50 (60) | 50 (60) |
Потребляемая мощность, не более | Вт | 160 | 180 | 200 |
Номинальное усилие подъема на штоке, не менее | Н | 300 | 500 | 800 |
Ход штока | мм | 32/50 | 60 | 60 |
Время подъема штока на тормозе, не более | с | 0,26/0,35 | 0,65 | 0,55/0,7 |
Время обратного хода штока на тормозе, не более | с | 0,26/0,35 | 0,40 | 0,37/0,5 |
Число включений в час, не более | — | 780 | 720 | 250 |
Масса рабочей жидкости, не более | кг | 1,1 | 1,6 | 2,7 |
Масса толкателя, не более | кг | 15 |