Вы здесь
Виброизоляторы резиновые ВР-203
Виброизоляторы резиновые ВР-203 предназначены для снижения вибрации, возникающей при работе электродвигателей вентиляторов. Они устанавливаются в составе промышленных и взрывозащищённых вентиляционных установок, чтобы уменьшить механическое и акустическое воздействие вибраций, передающихся от агрегата к окружающим конструкциям.
Избыточные вибрации могут негативно сказаться как на работе вентилятора, так и на эффективности всей системы, в которую он встроен. Применение виброизоляторов ВР-203 способствует гашению этих колебаний, тем самым продлевая срок службы оборудования и повышая его надёжность.
Эти изделия особенно востребованы в вентиляционных установках взрывозащищённого исполнения, поскольку материал, используемый для изготовления ВР-203, обладает диэлектрическими свойствами, необходимыми для безопасной эксплуатации в таких условиях.
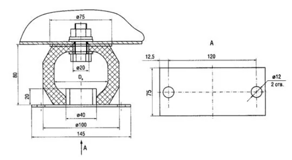
Монтаж виброизоляторов осуществляется с помощью специальных крепёжных пластин с болтами, которые доступны по отдельному запросу.
Диапазон рабочих температур для резиновых виброизоляторов ВР-203 составляет от -55 до +80 °С.
Габаритные размеры ВР-203
Технические характеристики ВР-203
Типоразмер | Вертикальная жесткость, кН/м | Допустимая статическая нагрузка, Н | Высота в свободном состоянии, мм | Деформация, мм | Нагрузка, кг | D, мм | Масса, кг | ||
рабочая | предельная | рабочая | предельная | ||||||
ВР-203 | 98 ± 14,5 | 2500 | 80 | 8,0 | 12,0 | 100 | 160 | 60 | 0,52 |