Вы здесь
Электродвигатели ДСТР
Электродвигатели ДСТР используются для реализации приводов электрических исполнительных механизмов, работающих с постоянной скоростью.
Область применения таких электродвигателей не ограничена исключительно приводами валов запорной арматуры.
Они более универсальны и могут использоваться в прочих электромеханических устройствах. Условием возможности их применения является небольшая частота вращения вала.
По способу монтажа двигатели имеют фланцевое исполнение, у них предусмотрен единственный выход вала. Защиту электромоторов на линии выходных валов обеспечивают корпуса приводимых механизмов.
Электродвигатели ДСТР работают от трёхфазной сети 380 В, при стандартной частоте 50 Гц.
Электродвигатели ДСТР двигатели могут работать в реверсивном режиме, чем обеспечивается процесс открывания и закрывания запорной арматуры, а также возможность регулировки потока.

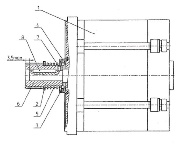
- Электродвигатель;
- Кольцо;
- Тормозное кольцо;
- Фрикционное кольцо;
- Пружина;
- Шестерня;
- Винт;
- Шпонка.
Технические характеристики электродвигателя ДСТР
| Модель | Напряжение, В | Частота, Гц | Номинальный вращающийся момент | Частота вращения, r/min | Номинальный ток в потребляемом режиме, А | Ативная потребляемая мощность в ноинальном режиме, Вт |
| 3ДСТР 135-1.6-150 | 220 | 50 | 1.6 | 150 | 0.9 | 170 |
| 380 | 0.86 | 190 | ||||
| 400 | 0.83 | |||||
| 3ДСТР 135-1.6-180 | 380 | 60 | 180 | 1.0 | 200 | |
| 3ДСТР 135-4.0-150 | 380 | 50 | 4.0 | 150 | 1.6 | 250 |
| 380 | 1.45 | |||||
| 400 | 1.40 | |||||
| 3ДСТР 135-4.0-180 | 380 | 60 | 180 | 1.65 | 260 |



