Вы здесь
Кран шаровый изолирующий КШИ.Ф.GAS
Основным рабочим элементом фданцевого крана ALSO является шар, выполненный из нержавеющей стали. Седловое уплотнение шара выполнено из углеродонаполненного фторопласта (тефлона, PTFE + 20%С), что практически исключает износ уплотнения в процессе эксплуатации крана.
Седловое уплотнение имеет дублирующее торцевое уплотнение из фторсилоксана, предназначенное для обеспечения герметичности крана при низких температурах. Тарельчатые пружины компенсируют температурные изменения шара и седел.
Основные применяемые стали
- Ст. 20, подвижные части ст. 20Х13 (обычное исполнение);
- Ст. 09Г2С, подвижные части ст. 20Х13 (хладостойкое исполнение);
- Ст. 12Х18Н10Т (коррозионностойкое исполнение).
Модели серии GAS
- КШИ.Ф.GAS DN 15-300 PN 16 фланец/фланец.
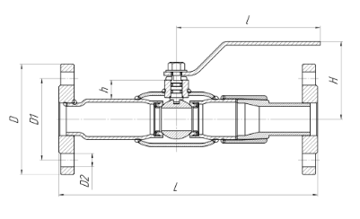
Габаритно-присоединительные размеры

| DN | PN | Каталожное обозначение | D | D1 | D2 | n | d | l | L | h | H | Вес.кг |
| 15 | 16 | КШИ.Ф.015.16-01 | 95 | 65 | 14 | 4 | 15 | 150 | 246 | 21 | 72 | 2.7 |
| 20 | 16 | КШИ.Ф.020.16-01 | 105 | 75 | 14 | 4 | 18 | 150 | 260 | 21 | 76 | 3.2 |
| 25 | 16 | КШИ.Ф.025.16-01 | 115 | 85 | 14 | 4 | 24 | 150 | 270 | 21 | 81 | 3.9 |
| 32 | 16 | КШИ.Ф.032.16-01 | 135 | 100 | 18 | 4 | 30 | 220 | 295 | 40 | 105 | 5.2 |
| 40 | 16 | КШИ.Ф.040.16-01 | 145 | 110 | 18 | 4 | 40 | 220 | 300 | 44 | 114 | 6.8 |
| 50 | 16 | КШИ.Ф.050.16-01 | 160 | 125 | 18 | 4 | 48 | 220 | 350 | 39 | 119 | 9.7 |
| 65 | 16 | КШИ.Ф.065.16-01 | 180 | 145 | 18 | 4 | 63 | 295 | 380 | 61 | 152 | 12.7 |
| 80 | 16 | КШИ.Ф.080.16-01 | 195 | 160 | 18 | 4 | 75 | 295 | 400 | 61 | 162 | 16.5 |
| 100 | 16 | КШИ.Ф.100.16-01 | 215 | 180 | 18 | 8 | 100 | 514 | 460 | 94 | 193 | 27.5 |
| 125 | 16 | КШИ.Ф.125.16-01 | 245 | 210 | 18 | 8 | 125 | 514 | 490 | 98 | 210 | 36.8 |
| 150* | 16 | КШИ.Ф.150.16-01 | 280 | 240 | 22 | 8 | 148 | 514 | 510 | 112 | 233 | 60 |
| 200* | 16 | КШИ.Ф.200.16-01 | 335 | 295 | 22 | 12 | 200 | 630 | 600 | 127 | 270 | 93 |
| 250** | 16 | КШИ.Ф.250.16-01 | 405 | 335 | 26 | 12 | 240 | - | 820 | 138 | 371 | 196 |
| 300** | 16 | КШИ.Ф.300.16-01 | 460 | 410 | 26 | 12 | 300 | - | 880 | 220 | 455 | 275 |
* Рекомендуется установка редуктора
** В комплекте с механическим редуктором PRO GEAR/ROTORK
Таблца обозначения шаровых кранов ALSO




