Вы здесь
Гидроклапаны давления Г54-32, ПГ54-32, БГ54-32
Гидроклапаны давления типа Г54-32 предназначены для применения в гидравлических системах.
Клапаны моделей Г54-32, ПГ54-32М, АГ54-32, ПАГ54-32М, БГ54-32, ПБГ54-32М, ВГ54-32, ПВГ54-32М, ДГ54-32, ПДГ54-32М выпускаются с резьбовым и стыковым соединением.
В варианте с резьбовым соединением, отверстия на корпусе имеют коническую резьбу K3/8" для подключения линий.
В клапанах со стыковым соединением отверстия выводятся на стыковую поверхность и оканчиваются цековками для уплотнительных колец (по ГОСТ 9833-73), что обеспечивает герметичность соединения между устройством и специальными панелями или промежуточными плитами, на которых нарезана резьба для установки штуцеров.
Гидроклапаны применяются в качестве:
- клапан разности давлений для поддержания заданной разности давлений, определяемой настройкой пружины, в подводимом и отводимом потоках рабочей жидкости, или в одном из этих потоков и постороннем потоке.
- клапана последовательности для пропускания потока рабочей жидкости при достижении заданной величины давления, определяемой настройкой пружины, в этом потоке или управляющем (дистанционное управление)потоке.
- предохранительного клапана для предохранения объёмного гидропривода от давления, превышающего установленное.
- переливного клапана для поддержания заданного давления путем непрерывного слива рабочей жидкости во время работы.
Указания по эксплуатации гидроклапанов (П)Г54-3:
- при изменении вязкости рабочей жидкости более чем на 20% от первоначальной произведите её замену;
- количество механических примесей в масле в процессе эксплуатации не должно превышать 0,005% по массе, а воды - 0,05%;
- гидроклапаны давления должны быть встроены в гидросистему так, чтобы орган управления аппарата был расположен в безопасном месте, удобном для обслуживания;
- трубы должны иметь проходные сечения, соответствующие размерам присоединительных отверстий, уменьшение сечений т вмятины не допускаются;
- присоединения гидроклапанов давления к гидросистеме должны обеспечивать полную герметичность во избежании течи масла и подсоса воздуха;
- перед началом работы удалите воздух из системы;
- для опломбирования регулировочного узла аппарата после настройки предусмотрены отверстия диаметром 2 мм в колпачке и винте.
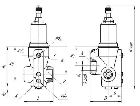
Размеры гидроклапана давления типа Г54-32 (резьбовое присоединение)
Модель клапана | Размеры, мм | |||||||||||
d1 | d1 | Hmax | L | B | h1 | h2 | h3 | h4 | h5 | h6 | b | |
АГ54-32(М) | K3/8" | K1/8" | 201 | 50 | 79 | 91 | 2 | 48 | 64 | 22 | 79 | 32 |
Г54-32(М) | ||||||||||||
БГ54-32(М) | ||||||||||||
ВГ54-32(М) | ||||||||||||
ДГ54-32(М) |
Размеры гидроклапана давления типа ПГ54-32 (стыковое присоединение)
Модель клапана | Размеры, мм | |||||||||||||||||
Hmax | L (h14) | B (h14) | h1 | h2 | h3 | h4 | h5 | h6 | h7 | h8 | l1 | l2 | l3 | l4 | b | d1 | d2 | |
ПАГ54-32(М) | 201 | 68 | 67 | 91 | 2 | 13 | 13 | 28 | 43 | 41 | 36 | 50 | 38 | 20 | 12 | 49 | 10 | 11 |
ПГ54-32(М) | ||||||||||||||||||
ПБГ54-32(М) | ||||||||||||||||||
ПВГ54-32(М) | ||||||||||||||||||
ПДГ54-32(М) |
Технические характеристики Г54-32, ПГ54-32, БГ54-32
Параметр | Нормы для исполнений | ||||
Гидроклапан Г54-32(М) ПГ54-32 | Гидроклапан АГ54-32(М) ПАГ54-32 | Гидроклапан БГ54-32(М) ПБГ54-32 | Гидроклапан ВГ54-32(М) ПВГ54-32 | Гидроклапан ДГ54-32(М) ПДГ54-32 | |
Условный проход, мм | 10 | 10 | 10 | 10 | 10 |
Расход, л/мин: номин. / макс. / мин. | 32 / 45 / 1 | ||||
Внутренние утечки, см³/мин, не более | 15 | 25 | 65 | 100 | 200 |
Давление настройки номинальное, МПа | 2,5 | 1,0 | 6,3 | 10,0 | 20,0 |
Диапазон настройки давления, МПа | 0,4-2,8 | 0,3-1,2 | 0,6-7,0 | 1,2-11,2 | 4,0-23,0 |
Номинальный перепад давлений, МПа | 0,2 | ||||
Масса клапана, кг: резьбовое (стыковое) | 2,3 (2,55) |
Условное обозначение гидроклапанов давления типа Г54-3
Принцип работы гидроклапанов давления (П)Г54-32
В расточке корпуса 1 (см. рисунок выше) помещён золотник 2. Расположенная в колпачке 3 пружина 4 через шайбу 10 препятствует перемещению золотника внутрь колпачка. Натяг пружины регулируется перемещением упора 7 с помощью регулировочного винта 5, контргайка 6 на винте фиксирует настройку. Рабочая жидкость, подводимая в полость клапана Р, через каналы «в, х» и демпферное отверстие «г» поступает под торец золотника 2. Давление жидкости на торец золотника уравновешивается усилием пружины 4. При возрастании давления в подводящей гидролинии увеличивается давление и на торец золотника 2. Преодолевая усилие пружины, золотник 2 сдвигается и соединяет полости Р и А. Так как полость под колпачком 3 соединена каналом «б» с полостью отвода А, то разность давлений в подводящем и отводящем каналах, определяемая усилием пружины, поддерживается постоянной независимо от изменения давления в гидросистеме.
Назад к списку