Вы здесь
Гидроклапаны давления Г54-34, ПГ54-34
Гидроклапаны типа Г54-34 и ПГ54-34М с условным проходом 20 мм предназначены:
- для поддержания заданной разности давлений, определяемой настройкой пружины, подводимом и отводимом потоках рабочей жидкости или в одном из этих потоков и постороннем потоке (функции клапана разности давлений).
- для пропускания потока рабочей жидкости при достижении заданной величины давления, определяемой настройкой пружины, в этом потоке или управляющем (дистанционное управление) потоке (функции клапана последовательности)
- для предохранения объёмного гидропривода от давления, превышающего установленное (функции предохранительного клапана).
- для поддержания заданного давления путем непрерывного слива рабочей жидкости во время работы (функции переливного клапана).
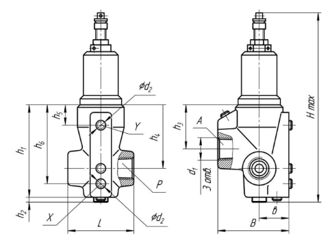
Клапаны Г54(АГ54, БГ54, ДГ54)-34М подключаются к гидравлическим линиям через коническую резьбу K3/4" в отверстиях корпуса.
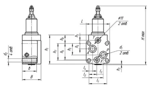
Клапаны ПГ54(ПАГ54, ПБГ54, ПДГ54)-34М стыкового присоединения, устанавливаются на специальные монтажные панели или плиты, имеющие резьбовые выходы для подсоединения штуцеров (гидролиний).
Размеры гидроклапана давления типа Г54-34 (трубное присоединение)
Модель клапана | Размеры, мм | |||||||||||
d1 | d1 | Hmax | L | B | h1 | h2 | h3 | h4 | h5 | h6 | b | |
АГ54-34(М) | K3/4" | K1/8" | 220 | 78 | 84 | 109 | 2,5 | 52 | 75 | 24 | 93 | 35 |
Г54-34(М) | ||||||||||||
БГ54-34(М) | ||||||||||||
ВГ54-34(М) | ||||||||||||
ДГ54-34(М) | 242 |
Размеры гидроклапана давления типа ПГ54-34 (стыковое присоединение)
Модель клапана | Размеры, мм | |||||||||||||||||
Hmax | L (h14) | B (h14) | h1 | h2 | h3 | h4 | h5 | h6 | h7 | h8 | l1 | l2 | l3 | l4 | b | d1 | d2 | |
ПАГ54-34(М) | 220 | 88 | 66 | 109 | 2,5 | 12 | 20 | 43 | 61 | 63 | 32 | 67 | 53,5 | 29,5 | 13,5 | 55 | 18 | 13 |
ПГ54-34(М) | ||||||||||||||||||
ПБГ54-34(М) | ||||||||||||||||||
ПВГ54-34(М) | ||||||||||||||||||
ПДГ54-34(М) | 242 | 71 |
Технические характеристики Г54-34, ПГ54-34
Параметр | Нормы для исполнений | ||||
Гидроклапан Г54-34М ПГ54-34 | Гидроклапан АГ54-34М ПАГ54-34 | Гидроклапан БГ54-34М ПБГ54-34 | Гидроклапан ВГ54-34М ПВГ54-34 | Гидроклапан ДГ54-34 ПДГ54-34М | |
Условный проход, мм | 20 | 20 | 20 | 20 | 20 |
Расход, л/мин: номин. / макс./ мин. | 125 / 160 / 3 | ||||
Внутренние утечки, см³/мин, не более | 35 | 20 | 90 | 140 | 280 |
Давление настройки номинальное, МПа | 2,5 | 1,0 | 6,3 | 10,0 | 20,0 |
Диапазон настройки давления, МПа | 0,4-2,8 | 0,3-1,2 | 0,6-7,0 | 1,2-11,2 | 4,0-23,0 |
Номинальный перепад давлений, МПа | 0,6 | ||||
Масса клапана, кг: резьбовое (стыковое) | 3,1 (4,0) |
Условное обозначение гидроклапанов давления типа Г54-3