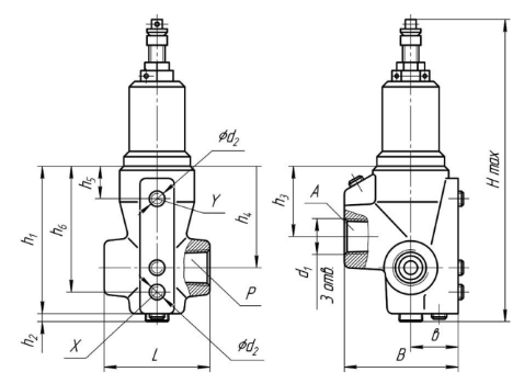
Клапаны типа (ПБ)Г54-32 (гидравлические) могут быть выполнены с резьбовым или стыковым соединением. В случае резьбового соединения, отверстия на корпусе имеют коническую резьбу К1 1/4" для подключения линий.
Для стыкового соединения отверстия расположены на стыковочной поверхности и заканчиваются цековками под уплотнительные кольца (по ГОСТ 9833-73), обеспечивающие герметичность стыка между гидроаппаратом и специальными панелями или промежуточными плитами, которые имеют резьбовые отверстия нужного диаметра для установки штуцеров.
Гидроклапаны давления модели (ПБ)Г54-35 используются в гидравлических системах в качестве:
- клапан разности давлений, то есть, для поддержания заданной разности давлений, определяемой настройкой регулируемой пружины, в подводимом и отводимом потоках рабочей жидкости (масла), или в одном из этих потоков и постороннем потоке.
- клапана последовательности для пропускания потока рабочей жидкости при достижении заданной величины давления, определяемой настройкой регулируемой пружины, в этом потоке или управляющем (дистанционное управление) потоке.
- предохранительного клапана для предохранения объёмного гидравлического привода от давления, превышающего максимально-допустимое значение.
- переливного клапана для поддержания заданного значения давления, путем непрерывного слива рабочей жидкости (масла) через сливной канал во время работы гидравлической системы.
Размеры гидроклапана давления типа Г54-35 (трубное присоединение)

Модель клапана |
Размеры, мм |
d1 |
d1 |
Hmax |
L |
B |
h1 |
h2 |
h3 |
h4 |
h5 |
h6 |
b |
АГ54-35(М) |
K1 1/4" |
K1/8" |
252 |
100 |
94 |
142 |
3 |
58 |
101 |
24 |
125 |
40 |
Г54-35(М) |
K1 1/4" |
K1/8" |
252 |
100 |
94 |
142 |
3 |
58 |
101 |
24 |
125 |
40 |
БГ54-35(М) |
K1 1/4" |
K1/8" |
252 |
100 |
94 |
142 |
3 |
58 |
101 |
24 |
125 |
40 |
ВГ54-35(М) |
K1 1/4" |
K1/8" |
252 |
100 |
94 |
142 |
3 |
58 |
101 |
24 |
125 |
40 |
ДГ54-35(М) |
K1 1/4" |
K1/8" |
274 |
100 |
94 |
142 |
3 |
59 |
101 |
24 |
125 |
40 |
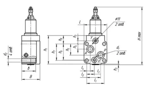
Размеры гидроклапана давления типа ПГ54-35 (стыковое присоединение)

Модель клапана |
Размеры, мм |
Hmax |
L (h14) |
B (h14) |
h1 |
h2 |
h3 |
h4 |
h5 |
h6 |
h7 |
h8 |
l1 |
l2 |
l3 |
l4 |
b |
d1 |
d2 |
ПАГ54-35(М) |
252 |
108 |
74 |
142 |
3 |
10 |
26 |
70 |
93 |
96 |
32 |
80 |
60 |
32 |
20 |
64 |
25 |
17 |
ПГ54-35(М) |
252 |
108 |
74 |
142 |
3 |
10 |
26 |
70 |
93 |
96 |
32 |
80 |
60 |
32 |
20 |
64 |
25 |
17 |
ПБГ54-35(М) |
252 |
108 |
74 |
142 |
3 |
10 |
26 |
70 |
93 |
96 |
32 |
80 |
60 |
32 |
20 |
64 |
25 |
17 |
ПВГ54-35(М) |
252 |
108 |
74 |
142 |
3 |
10 |
26 |
70 |
93 |
96 |
32 |
80 |
60 |
32 |
20 |
64 |
25 |
17 |
ПДГ54-35(М) |
274 |
108 |
74 |
142 |
3 |
10 |
26 |
70 |
93 |
96 |
32 |
80 |
60 |
32 |
20 |
64 |
25 |
17 |
Технические характеристики Г54-35, БГ54-35, АГ54-35, ПГ53-35
Параметр |
Нормы для исполнений |
Гидроклапан Г54-35(М) ПГ54-35(М) |
Гидроклапан АГ54-35(М) ПАГ54-35(М) |
Гидроклапан БГ54-35(М) ПБГ54-35(М) |
Гидроклапан ВГ54-35М ПВГ54-35М |
Гидроклапан ДГ54-35(М) ПДГ54-35(М) |
Диаметр условного прохода, мм |
32 |
32 |
32 |
32 |
32 |
Расход, л/мин: ном. / макс. / мин. |
200 / 300 / 9 |
Внутриполостные утечки, см³/мин, не более |
50 |
75 |
90 |
150 |
300 |
Ном. давление настройки, МПа |
2,5 |
1,0 |
6,3 |
10,0 |
20,0 |
Диапазонрегулировки давления, МПа |
0,4-2,8 |
0,3-1,2 |
0,6-7,0 |
1,2-11,2 |
4,0-23,0 |
Ном. перепад давлений, МПа |
0,2 |
Масса клапана не более, кг |
6,8 |
Условное обозначение гидроклапанов давления типа Г54-3

Комплект резиновых колец для гидроклапанов давления Г54-35
Обозначение кольца по ГОСТ 18829-73 |
Количество |
Г (АГ, БГ, ВГ) 54-34М |
ДГ54-34М |
ПГ (ПАГ, ПБГ, ПВГ) 54-34М |
ПДГ54-34М |
ПДГ54-34М |
ПДГ54-34М |
Кольцо 016-020-25 |
- |
- |
1 |
2 |
2 |
3 |
Кольцо 026-032-36 |
1 |
1 |
- |
1 |
1 |
- |
Кольцо 030-035-30 |
1 |
- |
- |
3 |
2 |
2 |
Кольцо 032-040-46 |
- |
1 |
1 |
- |
1 |
1 |
Кольцо 040-044-25 |
1 |
- |
- |
1 |
- |
- |
Кольцо 050-056-36 |
- |
1 |
1 |
- |
1 |
1 |
Назад к списку