Вы здесь
Гидроклапаны редукционные стыкового монтажа МКРВ-.../3С2...
Гидроклапаны редукционные МКРВ-10/3С2, МКРВ-20/3С2, МКРВ-32/3С2 стыкового монтажа применяются для поддержания в отводимом от них потоке рабочей жидкости более низкого давления, чем в подводимом потоке.
Область применения редукционных клапанов - гидроприводы станков, прессов, литейных и литьевых машин, а так же другого оборудования.
Рабочая жидкость на минеральной основе (HL, HLP) согласно DIN 51524; биологически быстро разлагаемая рабочая жидкость согласно VDM A 24568; HETG (рапсовое масло); HEPG (полигликоль); HEES (синтетические эфиры).
Управление настройки редукционного клапана - ручное, направление перемещения регулировочного винта - вокруг и вдоль собственной оси, положение при эксплуатации - любое
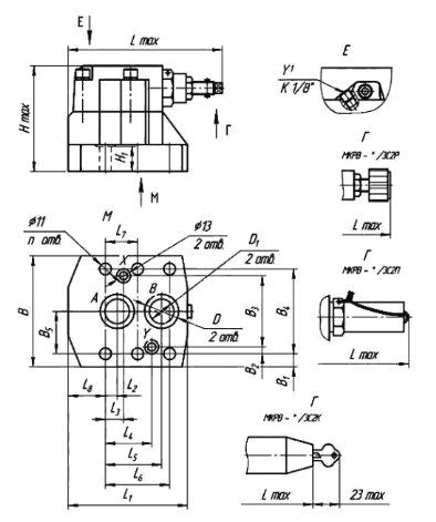
Габаритные размеры МКРВ-.../3С2...
Технические характеристики МКРВ-.../3С2...
Обозначение | Ду, мм | Диапазон давления на входе, МПа | Диапазон регулирования давления, МПа | Диапазон расхода рабочей жидкости, л/мин | Максимальные внутренние утечки, см³/мин | Масса, кг |
Клапан МКРВ 10/3С2Р Клапан МКРВ 10/3С2В |
10 | 0,8...35 | 0,2...6,5 | 0...3,2 | 500 | 3,85 |
Клапан МКРВ 10/3С2Р1 (аналог 10-100-2) Клапан МКРВ 10/3С2В1 (аналог 10-100-2) |
0,15...12,5 | |||||
Клапан МКРВ 10/3С2Р2 (аналог 10-200-2) Клапан МКРВ 10/3С2В2 (аналог 10-200-2) |
2...25 | |||||
Клапан МКРВ 10/3С2Р3 (аналог 10-320-2) Клапан МКРВ 10/3С2В3 (аналог 10-320-2) |
5...35 | |||||
Клапан МКРВ 20/3С2Р Клапан МКРВ 20/3С2В |
20 | 0,2...6,5 | 0...6,3 | 4,55 | ||
Клапан МКРВ 20/3С2Р1 (аналог 20-100-2) Клапан МКРВ 20/3С2В1 (аналог 20-100-2) |
0,15...12,5 | |||||
Клапан МКРВ 20/3С2Р2 (аналог 20-200-2) Клапан МКРВ 20/3С2В2 (аналог 20-200-2) |
2...25 | |||||
Клапан МКРВ 20/3С2Р3 (аналог 20-320-2) Клапан МКРВ 20/3С2В3 (аналог 20-320-2) |
5...35 | |||||
Клапан МКРВ 32/3С2Р Клапан МКРВ 32/3С2В |
32 | 0,2...6,5 | 0...7,15 | 5,10 | ||
Клапан МКРВ 32/3С2Р1 (аналог 32-100-2) Клапан МКРВ 32/3С2В1 (аналог 32-100-2) |
0,15...12,5 | |||||
Клапан МКРВ 32/3С2Р2 (аналог 32-200-2) Клапан МКРВ 32/3С2В2 (аналог 32-200-2) |
2...25 | |||||
Клапан МКРВ 32/3С2Р3 (аналог 32-320-2) Клапан МКРВ 32/3С2В3 (аналог 32-320-2) |
5...35 |