Вы здесь
Зональный клапан Siemens VD120CLC
Зональный клапан Siemens VD120CLC предназначен для управления расходом в системах вентиляции и кондиционирования воздуха охлаждаемых потолков и оконечных устройств в закрытых контурах, например, для фанкойлов, малых нагревателей и малых кондиционеров.
- 2-трубные системы с 1 теплообменником для нагрева и охлаждения;
- 4- трубные системы с 2 разделенными теплообменниками для нагрева и охлаждения.
В закрытых системах отопления:
- Различных этажей в здании;
- Квартир;
- Комнат.
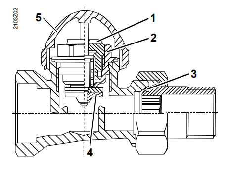
Конструкция Siemens VD120CLC

- Сальник с кольцом предустановки;
- Втулка клапана;
- Фитинг с уплотнительным кольцом;
- Шток с гибким кольцом;
- Все клапаны укомплектованы защитной крышкой. Эта крышка помогает регулировать клапан при испытании давлением установки и ручном регулировании для управления установкой в фазе создания.
Технические характеристики Siemens VD120CLC
| Производитель | SIEMENS |
| Диаметр (DN), мм | 20 |
| Тип клапана | Седельные |
| Соединение | Резьбовое |
| Пропускная способность (Kvs) | 2-3.5 |
| Шток | 2.5 мм |
| Ходы | 2-ходовый |
| Класс PN | 10 |
| Температура среды | 1…110 °C |
| Допустимое рабочее давление | 1000 кПа |
| Резьба | Rp/R ¾ " |
| Материал корпуса | латунь, никелевое напыление |



