Вы здесь
Монтажная лебедка ЛМ-5
Электрическая монтажная лебёдка ЛМ-5 предназначена для механизации монтажных работ с применением электропривода.
Модель рассчитана на тяговое усилие до 5 тонн, что отражено в её маркировке. Конструктивной особенностью устройства является последовательное использование двух цилиндрических редукторов: сначала редуктор 1Ц2У-160, установленный рядом с электродвигателем, за которым следует один из редукторов — Ц2У-400Н или РМ-650. Такое решение обеспечивает четырёхступенчатую трансмиссию, позволяющую достичь высокой тяги при компактных габаритах привода и тормоза.
Лебёдка может эксплуатироваться как отдельно, так и в составе различных грузоподъёмных систем. Дополнительно возможна установка опций, таких как звуковая сигнализация, концевые выключатели или дистанционное управление.
В процессе эксплуатации важно регулярно контролировать состояние масла в редукторах и гидротолкателе, а также износ тормозных колодок. Следует строго соблюдать правило: данное оборудование не предназначено для подъёма людей.
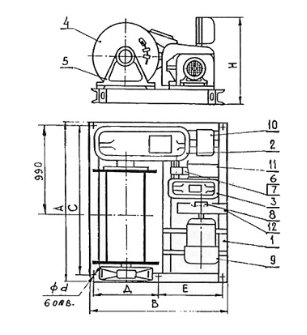
Габаритные размеры ЛМ-5

| 1 | Рама | 
| 2 | Редуктор Ц2У-400Н / РМ-650 | 
| 3 | Редуктор 1Ц2У-160 | 
| 4 | Барабан | 
| 5 | Подшипниковая опра | 
| 6 | Зубчатая передача | 
| 7 | Муфта | 
| 8 | Тормоз ТКГ-200 | 
| 9 | Электродвигатель 15 кВт | 
| 10 | Электрический шкаф | 
| 11 | Кожух | 
| 12 | Кожух | 
| Габаритные размеры, мм | Установочные размеры, мм | |||||
| A | B | H | C | D | E | d | 
| 1695 | 1740 | 950 | 1560 | 700 | 700 | 28 | 
Технические характеристики ЛМ-5
| Напряжение, В | 380 | 
| Тяговое усилие, тс | 5 | 
| Расчетная канатоёмкость, м | 250 | 
| Рекомендуемый диаметр каната по ГОСТ 2688-80, мм | 22,5 | 
| Габаритные размеры (Д х Ш х В), мм | 1695 х 1740 х 950 | 
| Монтажные размеры (С х D), мм | 700 х 700 х 1560 | 
| Диаметр монтажных отверстий (Е), мм | 28 х 6 | 
| Комплектация канатом по умолчанию | не входит в комплект | 
| Скорость навивки каната на первом слое, м/с | 0,28 | 
| Диаметр барабана | 325 | 
| Редуктор первичный | Ц2У-160 | 
| Редуктор вторичный | РМ-650-40-11 | 
| Ц2У-400Н-40-11 | |
| Тип тормоза | ТКГ 200 | 
| Электродвигатель | АИР160М6 15 кВт | 
| Климатическое исполнение по ГОСТ 15150-69 | У2 | 
| Температура окружающей среды, ºС | от -40 до +40 | 
| Окружающая среда | невзрывоопасная | 
| Режим работы | легкий | 
| Масса без каната, кг | 1900 | 
			


