Вы здесь
Тяговая лебедка ТЛ-7А-1
Тяговая электрическая лебёдка ТЛ-7А-1 представляет собой универсальное устройство, предназначенное для выполнения различных погрузочно-разгрузочных работ.
Она может функционировать как самостоятельный механизм с дистанционным управлением через выносной пульт, так и как часть кранового оборудования, управляемого из кабины оператора.
Применение лебёдки для подъёма людей категорически запрещено.
Конструкция ТЛ-7А-1 зависит от используемого редуктора: в ранних моделях устанавливался редуктор РМ-650, в современных версиях применяется более эффективный редуктор Ц2У-400Н, обеспечивающий улучшенные характеристики.
Одна из важных конструктивных особенностей — наличие резисторного блока, который позволяет регулировать скорость вращения двигателя, обеспечивая более плавную подачу и размотку троса.
В зависимости от конкретной конфигурации, на лебёдку могут устанавливаться электродвигатели мощностью от 15 до 30 кВт, что позволяет адаптировать её к различным условиям эксплуатации.
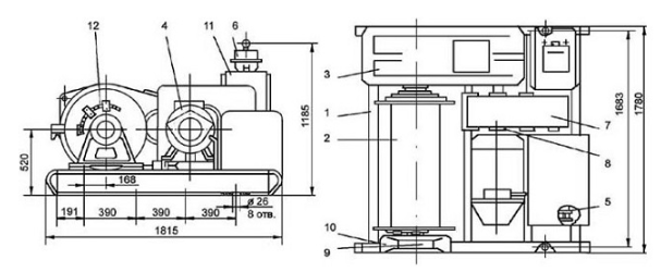
Габаритные размеры ТЛ-7А-1

| 1 | Рама | 
| 2 | Барабан | 
| 3 | Редуктор цилиндрический двухступенчатый | 
| 4 | Электродвигатель | 
| 5 | Резисторный блок | 
| 6 | Кулачковый контроллер | 
| 7 | Тормоз колодочный гидравлический | 
| 8 | Муфта | 
| 9 | Подшипник | 
| 10 | Выносная подшипниковая опора | 
| 11 | Шкаф с электрооборудованием | 
| 12 | Канат | 
Технические характеристики ТЛ-7А-1
| Наименование показателя | Значение | 
| Напряжение, В | 380/660 | 
| Тяговое усилие, тс | 5 | 
| Расчетная канатоёмкость, м | 250 | 
| Рекомендуемый диаметр каната по ГОСТ 2688-80, мм | 22,5 | 
| Габаритные размеры (Д х Ш х В), мм | 1780 х 1815 х 1185 | 
| Монтажные размеры (Сх С х С х D), мм | 390 х 390 х 390 х 1683 | 
| Диаметр монтажных отверстий (Е), мм | 26 | 
| Комплектация канатом по умолчанию, (+/-) | в комплект не входит | 
| Скорость навивки каната на первом слое, м/с | 0,31 | 
| Диаметр барабана | 377 | 
| Редуктор | Ц2У-400Н-50-22М | 
| РМ-650-50-50-22М | |
| Тип тормоза | ТКГ 300 | 
| Электродвигатель | АИР180M8 15 кВт 750 об/мин | 
| Климатическое исполнение по ГОСТ 15150-69 | У2 | 
| Температура окружающей среды, ºС | от -40 до +40 | 
| Окружающая среда | невзрывоопасная | 
| Режим работы | легкий | 
| Масса без каната, кг | 1940 | 
			


