Вы здесь
Тяговая лебедка ТЛ-9а
Электрическая лебёдка ТЛ-9А относится к тяговым механизмам, о чём свидетельствует её невысокая скорость намотки троса.
Несмотря на это, её функционал не ограничивается только перемещением грузов по прямой — устройство также эффективно применяется в различных такелажных и разгрузочных работах при условии, что нагрузка не превышает допустимое тяговое усилие в 1,25 тс.
Следует подчеркнуть, что эксплуатация лебёдки для подъёма людей категорически запрещена.
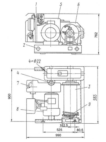
Конструкция ТЛ-9А включает в себя металлическое основание, электродвигатель, тормозную систему, муфту, барабан, подшипниковую опору и шкаф управления. В состав входит редуктор и гидравлический тормоз — перед запуском оборудования необходимо убедиться в наличии масла в этих узлах. Рекомендуемые типы смазки указаны в технической документации.
Лебёдка может использоваться как автономный агрегат, однако её технические параметры позволяют встраивать её в малогабаритные крановые установки. Для таких задач требуется комплектация с дистанционным управлением и конечными выключателями. Стоимость конкретной комплектации определяется индивидуально.
Габаритные размеры ТЛ-9А

| 1 | Шкаф с пусковой аппаратурой | 
| 2 | Рама | 
| 3 | Барабан | 
| 4 | Муфта | 
| 5 | Защитный кожух | 
| 6 | Редуктор Ц2У-200-31,5-11 | 
| 7 | Тормоз ТКГ-200 | 
| 8 | Электродвигатель 7,5/1500 | 
| 9 | Канат | 
Технические характеристики ТЛ-9А
| Напряжение, В | 380 | 
| Тяговое усилие, тс | 1,25 | 
| Расчетная канатоёмкость, м | 80 | 
| Рекомендуемый диаметр каната по ГОСТ 2688-80, мм | 11 | 
| Габаритные размеры (Д х Ш х В), мм | 985 х 990 х 785 | 
| Монтажные размеры (С х D), мм | 525 х 890 | 
| Диаметр монтажных отверстий (Е), мм | 22 | 
| Комплектация канатом по умолчанию | не комплектуется | 
| Скорость навивки каната на первом слое, м/с | 0,5 | 
| Диаметр барабана | 180 | 
| Редуктор | 1Ц2У-200-31,5-11 | 
| Ц3У-200-31,5-11 | |
| Тип тормоза | ТКГ 200 | 
| Электродвигатель | АИР132S4 | 
| Климатическое исполнение по ГОСТ 15150-69 | У2 | 
| Температура окружающей среды, ºС | от -40 до +40 | 
| Окружающая среда | невзрывоопасная | 
| Режим работы | легкий | 
| Масса без каната, кг | 450 | 
			


