Вы здесь
Насос дренажный Ballu Machine DС Pump (проточный, 18 л/ч)
Ballu Machine DC Pump — это проточный дренажный насос, рассчитанный на производительность до 18 л/ч. Он предназначен для установки непосредственно в корпус внутреннего блока кондиционера, за подвесным потолком или в дренажной линии.
В основе насоса лежит технология ротационной мембраны, которая полностью устраняет вибрации и сводит уровень шума к минимуму. Благодаря этому уровень шума составляет всего 19 дБ(А) — тише, чем работает сам кондиционер, и практически не воспринимается на слух.
Возможности установки
Компактный насос может монтироваться:
- внутри корпуса внутреннего блока кондиционера;
- в межпотолочном пространстве;
- в кабель-канале или дренажной трассе.
Ключевые преимущества:
- Производительность — до 18 литров в час;
- Бесшумная работа — всего 19 дБ(А);
- Широкий диапазон напряжения — от 100 до 230 В;
- Минимальное энергопотребление — всего 3 Вт;
- Без необходимости заземления;
- Полный монтажный комплект в комплекте поставки — для быстрой и удобной установки.
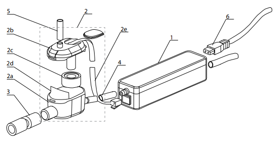
Конструкция DС Pump (проточный, 18 л/ч)
1. Насос
2. Детектор
2а. Корпус детектора
2b .Крышка
2c. Поплавок
2d. Фильтр
2e. Кабель подключения датчика
3. Соединительное колено
4. Соединительная капиллярная трубка
5. Вентиляционная трубка
6. Кабель питания насоса
Технические характеристики DС Pump (проточный, 18 л/ч)
Основные | |
Бренд | Ballu MACHINE |
Артикул | НС-1092315 |
Материал рабочего колеса | Пенопласт |
Материал корпуса | ПВХ |
Форма корпуса | Прямоугольная |
Цвет корпуса | Салатовый |
Срок службы | 2 года |
Гарантийный срок | 2 года |
Страна производства | КНР |
Потребительские | |
Тип насоса | Дренажный |
Применение и соответствие | устройство распыления конденсата от кондиционеров |
Температурный диапазон эксплуатации | до 50 °С |
Управление | |
Вид управления | Полная автоматика |
Производительность | |
Макс. производительность (расход) | 18 м3/час |
Макс. производительность л/час | 18 л/час |
Максимальный уровень шума на выходе | 19 дБ |
Производительность | 18 л/час |
Защита и безопасность | |
Аварийное подключение | Да |
Класс пылевлагозащищенности | IP20 |
Монтажные | |
Вариант размещения | Горизонтальное |
Вид установки (крепления) | Монтаж присоединительный |
Мощность присоединяемого кондиционера не более | 14 кВт |
Макс. потребляемая мощность | 0.003 кВт |
Макс. потребляемая мощность, Вт | 3 Вт |
Мин. температура жидкости | 1 °С |
Макс. температура жидкости | 50 °С |
Макс. рабочее давление | 1 бар |
Размер подключения | 16 дюйм |
Длина подачи (по горизонтали) не более | 60 м |
Макс. диаметр пропускаемых частиц | 0.005 мм |
Макс. глубина погружения | 0.01 м |
Высота подъема | 12 м |
Высота подъёма конденсата от уровня насоса не более | 12 м |
Высота всасывания конденсата до уровня насоса не более | 2.5 м |
Максимальный напор | 60 м |
Максимальный ток | 2 А |
Количество фаз | 2 |
Напряжение электропитания, В | 110 В |
Длина кабеля | 0.4 м |
Макс. высота подъема конденсата | 12 м |
Макс. длина подачи по горизонтали | 60 м |
Комплектность | |
Набор крепежных элементов в комплекте | Да |
Вес и габариты товара | |
Вес товара (нетто) | 0.29 кг |
Высота товара | 3.5 см |
Ширина товара | 17.1 см |
Глубина товара | 3.8 см |
Вес и габариты упаковки | |
Вес товара с упаковкой (брутто) | 0.46 кг |
Высота упаковки товара | 9.2 см |
Ширина упаковки товара | 10.8 см |
Глубина упаковки товара | 17.5 см |