Вы здесь
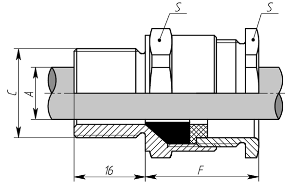
Кабельный ввод АВКВ.6.Л.32.М32.17-26.МР25
АВКВ.6.Л.32.М32.17-26.МР25 используется со всеми типами небронированного кабеля, проложенного в гибком металлорукаве. Этот кабельный ввод обеспечивает взрывозащищенное уплотнение внешней оболочки кабеля (диаметром от 17 до 26мм) и надежное закрепление металлорукава типа Р3ЦХ или МРПИ ДУ 25.
Шифр исполнения кабельного ввода формируется в соответствии со схемой:
АВКВ.Х1.Х2.Х3.Х4, где
- Х1 - модификация ввода по применению
- Х2 - материал и номинальный размер ввода через точку (например Л.18)
- Х3 - тип и размер резьбы
- Х4 - предельные размеры вводимого кабеля
Материал: Л - латунь, ЛН - латунь с покрытием, НС - нержавеющая сталь, С - сталь
| Маркировка взрывозащиты | ExeIIU |
| Сертификат соответствия | ТС RU C - RU.ГБ.06.В.00104 |
| Срок действия сертификата | по 20.10.2018г. |
| Степень защиты | IP66 |
| Классы взрывоопасных зон | В-1а, В-1г |
| Категории взрывоопасных смесей | IIA, IIB, IIC |
| Температура окружающей среды | -60 +130 °C |
| Срок эксплуатации | 20 лет |
| Климатическое исполнение | УХЛ 1 |




