Узлы нижнего подключения OGINT 

Запорно-присоединительные узлы OGINT для двухтрубной системы отопления предназначены для подключения радиаторов с нижними присоединительными патрубками к разводящим трубопроводам горизонтальной двухтрубной системы водяного отопления, а также для отключения радиаторов от трубопроводной сети без опорожнения системы отопления.

Не предназначены для контакта с питьевой водой в системах хозяйственно-питьевого водоснабжения.

Особенности узла нижнего подключения для двухтрубной системы отопления

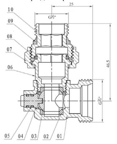
  • Присоединительный размер: 1/2" x 3/4" Евроконус;
  • Диаметр условный: Ду15;
  • Номинальное давление, бар: 10;
  • Пробное давление, бар: 15;
  • Максимальная рабочая температура теплоносителя Тмакс: 120 °С;
  • Расстояние между присоединительными патрубками, мм: 50;
  • Температура окружающей среды: от -20°С до +50°С;
  • Средний срок службы: 10 лет.

Особенности узла нижнего подключения раздельного

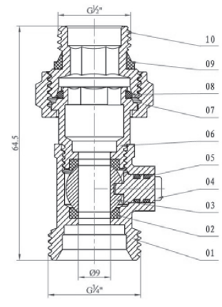
  • Присоединительный размер: 1/2" x 3/4" Евроконус;
  • Подключение к трубопроводу: наружная резьба;
  • Подключение к отопительному прибору: наружная резьба;
  • Диаметр условный: Ду15;
  • Номинальное давление, бар: 10;
  • Пробное давление, бар: 15;
  • Максимальная рабочая температура теплоносителя Тмакс: 120 °С;
  • Температура окружающей среды: от -20°С до +50°С;
  • Средний срок службы: 10 лет.

Габаритные размеры узла нижнего подключения для двухтрубной системы отопления

Габаритные размеры узла нижнего подключения раздельного

Диаграмма гидравлического сопротивления прямого запорно-присоединительного узла

Диаграмма гидравлического сопротивления углового запорно-присоединительного узла

Технические характеристики узла нижнего подключения для двухтрубной системы отопления

Исполнение Условная пропускная способность гарнитура, м3/ч Масса, кг
Прямой 3,8 0,295
Угловой 1,8 0,318

Технические характеристики узла нижнего подключения раздельного

Исполнение Условная пропускная способность гарнитура, м3/ч Масса, кг
Прямой 3,8 0,142
Угловой 1,8 0,152
Назад к списку