Вы здесь
Грязевик горизонтальный ТС-566 серии 5.903-13
Грязевик горизонтальный ТС-566 серии 5.903-13 предназначается для очистки воды в системах отопления или теплоснабжения от взвешенных частиц. Изготавливается по чертежам серии 5.903-13 с номером чертежа ТС 566.00.000
Принцип действия грязевиков основан на выпадении взвешенных частиц из воды вследствие резкого уменьшения скорости ее движения.
Грязевики устанавливаются на кронштейнах: при теплоснабжении от теплосети – на вводе в здание на прямой и обратной трубах, при теплоснабжении от местных котельных – на обратном трубопроводе перед циркуляционными насосами.
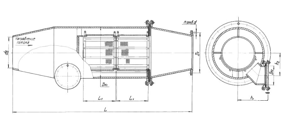
Грязевик представляет собой цилиндрический корпус с фланцевым, либо под сварку, соединением трубопровода теплоснабжения, водоснабжения и фильтрацией воды специальной сеткой произведенной из нержавеющей стали 12Х18Н10Т.
В грязевике происходит выпадание больших и средних взвешенных частиц в осадок. Осадок накапливается на дне грязевика.
Работа грязевика состоит в приеме исходной воды, фильтровании ее от средних , а также больших взвешенных частиц, отводе очищенной воды и периодической чистке нижней части корпуса.
Нормальной работой грязевика считается постепенное повышение гидравлического сопротивления в ГрВ (ГрГ) по показаниям приборов на трассе трубопровода до и после грязевика.
Габаритные размеры грязевика ТС-566
Технические характеристики и габаритные размеры грязевика ТС-566
Обозначение |
Условное давление Ру, МПа |
Условный проход Ду, мм |
dв |
Dн1 |
Dн2 |
D1 |
L |
L1 |
h1 |
h2 |
d |
Кол-во отв. n |
Масса, кг |
Грязевик ТС-566.00.000 | 2,5 | 500 | 514 | 820 | 273 | 660 | 2 870 | 500 | 515 | 345 | 42 | 20 | 1 240 |
Грязевик ТС-566.00.000-01 | 2,5 | 600 | 610 | 920 | 273 | 770 | 2 980 | 550 | 550 | 380 | 42 | 20 | 1 540 |
Грязевик ТС-566.00.000-02 | 2,5 | 700 | 698 | 1 020 | 325 | 875 | 3 220 | 600 | 605 | 415 | 48 | 24 | 2 057 |
Грязевик ТС-566.00.000-03 | 2,5 | 800 | 798 | 1 220 | 325 | 990 | 3 780 | 650 | 675 | 485 | 48 | 24 | 2 867 |
Грязевик ТС-566.00.000-04 | 2,5 | 900 | 896 | 1 220 | 325 | 1 090 | 3 432 | 700 | 675 | 485 | 56 | 28 | 2 913 |
Грязевик ТС-566.00.000-05 | 2,5 | 1 000 | 992 | 1 420 | 426 | 1 210 | 4 082 | 750 | 790 | 565 | 62 | 28 | 4 288 |
Грязевик ТС-566.00.000-06 | 2,5 | 1 200 | 1 192 | 1 620 | 426 | 1 420 | 4 158 | 800 | 860 | 635 | 62 | 32 | 5 246 |
Грязевик ТС-566.00.000-07 | 2,5 | 1 400 | 1 392 | 1 820 | 426 | 1 640 | 4 260 | 850 | 930 | 705 | 66 | 36 | 6 708 |
Грязевик ТС-566.00.000-08 | 1,6 | 500 | 514 | 820 | 273 | 650 | 2 885 | 500 | 510 | 345 | 35 | 20 | 894 |
Грязевик ТС-566.00.000-09 | 1,6 | 600 | 614 | 920 | 273 | 770 | 2 982 | 550 | 545 | 380 | 42 | 20 | 1 117 |
Грязевик ТС-566.00.000-10 | 1,6 | 700 | 704 | 1 020 | 325 | 840 | 3 225 | 600 | 605 | 415 | 42 | 24 | 1 488 |
Грязевик ТС-566.00.000-11 | 1,6 | 800 | 802 | 1 220 | 325 | 950 | 3 798 | 650 | 675 | 490 | 42 | 24 | 2 126 |
Грязевик ТС-566.00.000-12 | 1,6 | 900 | 900 | 1 220 | 325 | 1 050 | 3 435 | 700 | 675 | 490 | 42 | 28 | 2 043 |
Грязевик ТС-566.00.000-13 | 1,6 | 1 000 | 1 000 | 1 420 | 426 | 1 170 | 4 090 | 750 | 790 | 570 | 48 | 28 | 3 125 |
Грязевик ТС-566.00.000-14 | 1,6 | 1 200 | 1 196 | 1 620 | 426 | 1 390 | 4 190 | 800 | 860 | 640 | 56 | 32 | 4 266 |
Грязевик ТС-566.00.000-15 | 1,6 | 1 400 | 1 392 | 1 820 | 426 | 1 590 | 4 292 | 850 | 930 | 710 | 56 | 36 | 4 958 |
Грязевик ТС-566.00.000-16 | 1,0 | 500 | 514 | 820 | 273 | 620 | 2 805 | 500 | 515 | 345 | 28 | 20 | 730 |
Грязевик ТС-566.00.000-17 | 1,0 | 600 | 614 | 920 | 273 | 725 | 2 902 | 550 | 550 | 380 | 32 | 20 | 863 |
Грязевик ТС-566.00.000-18 | 1,0 | 700 | 704 | 1 020 | 325 | 840 | 3 12 | 600 | 605 | 415 | 32 | 24 | 1 135 |
Грязевик ТС-566.00.000-19 | 1,0 | 800 | 802 | 1 220 | 325 | 950 | 3 688 | 650 | 675 | 490 | 35 | 24 | 1 710 |
Грязевик ТС-566.00.000-20 | 1,0 | 900 | 900 | 1 220 | 325 | 1 050 | 3 330 | 700 | 675 | 490 | 35 | 28 | 1 704 |
Грязевик ТС-566.00.000-21 | 1,0 | 1 000 | 1 000 | 1 420 | 426 | 1 160 | 4 000 | 750 | 790 | 570 | 35 | 28 | 2 447 |
Грязевик ТС-566.00.000-22 | 1,0 | 1 200 | 1 198 | 1 620 | 426 | 1 380 | 4 110 | 800 | 860 | 640 | 42 | 32 | 3 339 |
Грязевик ТС-566.00.000-23 | 1,0 | 1 400 | 1 392 | 1 820 | 426 | 1 590 | 4 210 | 850 | 930 | 710 | 48 | 36 | 3 912 |