Вы здесь
Теплообменник «БУГ X»
Теплообменник «БУГ X» применяется в системых теплообмена, холодильных установках, в хтмической и пищевой промышленностях.
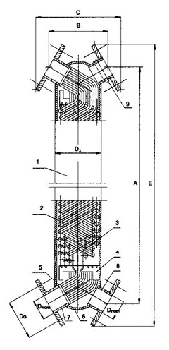
У теплooбменников типа БУГ Х — змеевик выполнен из гладких труб, а у типа БУГ XП — из профилированных. Греющая среда подается в змеевик.
Особенности теплообменника «БУГ X»
Теплooбменники БУГ Х и БУГ ХП имеют подводящие и отводящие патрубки, расположенные в верхнем и нижнем днище под острым углом к оси теплообменника.
Такая Х-образная конструкция позволяет исключить скопление шламов в связи с отсутствием застойных зон. Теплообменники могут использоваться при максимальной температуре греющей среды до 200 °С и максимальном давлении 2,5 МПа.
Преимущества теплообменника «БУГ X»
- Компактность: монтаж теплообменников в вертикальном положении позволяет сократить до минимума требуемую площадь для их установки;
- Высокая эффективность: коэффициент теплопередачи выше, чем в стандартных кожухотрубных и пластинчатых теплообменниках;
- Низкий вес: вес теплообменников (одинаковых тепловых характеристик) ниже стандартных пластинчатых;
- Большие возможности выбора при проектировании: разнообразие типоразмеров и подбор при помощи компьютерной программы;
- Условия работы: широкий диапазон давлений, расходов, температур и сред. Допускают высокую разницу давлений греющей и нагреваемой сред;
- Низкие затраты на эксплуатацию: высокая стойкость от накипеобразований, простота очистки.
Размеры теплообменника «БУГ X»
Тип | Поверх. нагрева |
Масса | Объем корпуса |
Объем трубн.ч. |
А | В | С | Е | Dz | Dnom | dz | D0 | d0 | i |
м2 | кг | л | л | мм | мм | мм | мм | мм | мм | мм | мм | мм | * | |
БУГ Х 2.11 | 1,2 | 19,5 | 2,6 | 2,26 | 1513 | 160 | 253 | 1625 | 80 | 40 | 48,2 | 110 | 18 | 4 |
БУГХ 3.18 | 2,0 | 28,0 | 5,6 | 3,0 | 1510 | 174 | 270 | 1630 | 101,6 | 50 | 60,3 | 125 | 18 | 4 |
БУГ Х 5.38 | 4,0 | 43,5 | 11,4 | 7,3 | 1510 | 204 | 318 | 1646 | 139,7 | 65 | 76 | 145 | 18 | 8 |
БУГ Х 6.50 | 5,3 | 55,0 | 15,0 | 9,7 | 1492 | 206 | 326 | 1637 | 159 | 80 | 89 | 160 | 18 | 8 |
БУГ Х 9.88 | 10,7 | 95,0 | 22,6 | 18,9 | 1482 | 256 | 386 | 1642 | 219,1 | 100 | 114 | 190 | 22 | 8 |
БУГХ 12.114 | 18,4 | 150,0 | 48,7 | 21,8 | 1685 | 340 | 478 | 1885 | 273 | 125 | 139,7 | 220 | 26 | 8 |
БУГ ХП 2.11 | 1,2 | 19,5 | 2,6 | 2,26 | 1513 | 160 | 253 | 1625 | 80 | 40 | 48,2 | 110 | 18 | 4 |
БУГ ХП 3.18 | 2,0 | 28,0 | 5,6 | 3,0 | 1510 | 174 | 270 | 1630 | 101,6 | 50 | 60,3 | 125 | 18 | 4 |
БУГ ХП 5.38 | 4,0 | 43,5 | 11,4 | 7,3 | 1510 | 204 | 318 | 1646 | 139,7 | 65 | 76 | 145 | 18 | 8 |
БУГ ХП 6.50 | 5,3 | 55,0 | 15,0 | 9,7 | 1492 | 206 | 326 | 1637 | 159 | 80 | 89 | 160 | 18 | 8 |
БУГХП 6.50.10 | 5,1 | 53,0 | 15,7 | 9,0 | 1492 | 206 | 326 | 1637 | 159 | 80 | 89 | 160 | 18 | 8 |
БУГХП 9.88 | 10,7 | 95,0 | 22,6 | 18,9 | 1482 | 256 | 386 | 1642 | 219,1 | 100 | 114 | 190 | 22 | 8 |
БУГ ХП 9.88.10 | 8,3 | 90,0 | 32 | 13,0 | 1482 | 256 | 386 | 1642 | 219,1 | 100 | 114 | 190 | 22 | 8 |
БУГ ХП 12.114 | 18,4 | 150,0 | 48,7 | 21,8 | 1685 | 340 | 478 | 1885 | 273 | 125 | 139,7 | 220 | 26 | 8 |
БУГХП 12.114.10 | 14,1 | 142,0 | 55,0 | 19,3 | 1685 | 340 | 478 | 1885 | 273 | 125 | 139,7 | 220 | 26 | 8 |
БУГХП 12.114.12 | 9,5 | 132,0 | 55,8 | 18,5 | 1685 | 340 | 478 | 1885 | 273 | 125 | 139,7 | 220 | 26 | 8 |