Вы здесь
Хлопушка ХП
Хлопушки ХП в закрытом положении исключают обратный ток продукта, хранимого в резервуаре, предохраняя резервуары от утечек нефти или нефтепродуктов при повреждении технологических трубопроводов или размещенных на них запорных устройств.
Хлопушки являются комплектующими изделиями резервуаров для нефти и нефтепродуктов.
Хлопушки могут бывают:
- управляемыми;
- неуправляемыми.
Крышки управляемых хлопушек можно поднимать, опускать, а также фиксировать в поднятом положении помощью механизмов управления:
- боковых — МУ, устанавливаемых на стенке резервуара;
- верхних — МУВ, устанавливаемых на стационарной крыше.
Управляемые хлопушки могут применяться как на раздаточных (отпускных), так и на приемных (нагнетательных) трубопроводах.
Для снижения усилия, требующегося для поднятия крышки, все хлопушки с условным проходом более 100 мм изготавливаются с перепуском — разгрузочным отверстием.
Без перепуска изготавливаются только хлопушки с условным проходом 80 и 100 мм.
Монтаж
Хлопушка устанавливается через прокладку на фланце приемо-раздаточного патрубка в нижнем поясе внутри резервуара.
- Соединение — фланцевое, болтовое;
- Соединительный фланец изделия соответствует ГОСТ 12820-80;
- Условное давление (Ру) фланцев у хлопушек с условным проходом 400, 500 и 700 мм — 16 кгс/см2, у хлопушек с условным проходом менее 400 мм — 6 кгс/см2;
- Присоединительные размеры фланцев соответствуют исполнению 1 по ГОСТ 12815-80;
- По устойчивости к воздействию климатических факторов внешней среды хлопушки изготавливаются в исполнении Т, У и УХЛ категории размещения 1 по ГОСТ 15150-69.
Пример обозначения изделия:
ХП — хлопушка;
200 — условный проход в миллиметрах;
С — материальное исполнение корпуса – сталь углеродистая;
возможные варианты материала корпуса:
- Н — нержавеющая сталь;
- А — алюминиевый сплав;
С — материальное исполнение крышки – сталь углеродистая;
возможные варианты материала крышки:
- Н — нержавеющая сталь;
- А — алюминиевый сплав;
УХЛ — климатическое исполнение по ГОСТ 15150-69.
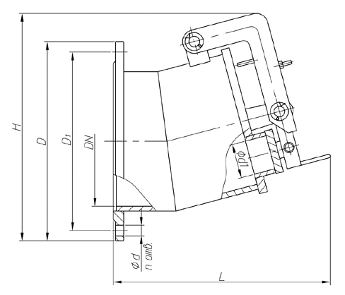
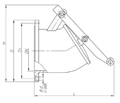
Габаритные размеры хлопушки ХП
без перепуска
с перепуском
Технические характеристики хлопушки ХП
Наименование параметров | ХП-80 | ХП-100 | ХП-150 | ХП-200 | ХП-250 | ХП-300 | ХП-400 | ХП-500 | ХП-600 | |
Диаметр условного прохода DN | 80 | 100 | 150 | 200 | 250 | 300 | 400 | 500 | 600 | |
Условный проход перепускного отверстия, d1, мм | — | 25 | 100 | |||||||
Класс герметичности по ГОСТ 9544-93 | D | |||||||||
Габаритные размеры, мм, не более: | L | 165 | 326 | 306 | 355 | 405 | 442 | 785 | 700 | 770 |
D | 185 | 205 | 260 | 315 | 370 | 435 | 580 | 710 | 840 | |
H | 212 | 281 | 308 | 370 | 470 | 504 | 800 | 840 | 960 | |
Присоединительные размеры, мм, не более: | D1 | 150 | 170 | 225 | 280 | 335 | 395 | 525 | 650 | 770 |
d | 18 | 18 | 18 | 18 | 18 | 22 | 30 | 33 | 36 | |
n | 4 | 4 | 8 | 8 | 12 | 12 | 16 | 20 | 20 | |
Масса, кг, не более | 6 | 10 | 19 | 26 | 47 | 49 | 140 | 220 | 330 |
Сведения бля монтажа
Обозначение хлопушки | Ответный фланец ГОСТ 12820-80 | Прокладка ГОСТ 15180-86 | Болт ГОСТ 7798-70 | Гайка ГОСТ 5915-70 |
ХП-80 | 1-80-6 | А-80-6-ПМБ | M16x55 | М16 |
ХП-100 | 1-100-6 | А-100-6-ПМБ | M16x55 | М16 |
ХП-150 | 1-150-6 | А-150-6-ПМБ | M16x60 | М16 |
ХП-200 | 1-200-6 | А-200-6-ПМБ | M16x65 | М16 |
ХП-250 | 1-250-6 | А-250-6-ПМБ | M16x70 | М16 |
ХП-300 | 1-300-6 | А-300-6-ПМБ | M20x75 | М20 |
ХП-400 | 1-400-16 | А-400-16-ПМБ | M27x110 | М27 |
ХП-500 | 1-500-16 | А-500-16-ПМБ | M30x130 | М30 |
ХП-600 | 1-600-16 | А-600-16-ПМБ | M36x140 | М36 |