Вы здесь
Клапаны дыхательные совмещенные КДС-250
Клапаны дыхательные совмещенные КДС-250 предназначены для герметизации газового пространства в резервуарах с нефтью и нефтепродуктами, а также для поддержания в них проектных величин внутреннего давления и вакуума.
В данном устройстве совмещены функции как клапана давления, так и клапана вакуума.
Через клапаны происходят так называемые большие дыхания, предохраняющие резервуары от избыточного давления и вакуума, возникающих во время операций слива-налива.
Малые дыхания, вызванные суточными колебаниями температуры окружающей среды, также происходят через клапаны.
В остальное время резервуар, оборудованный клапанами, надежно герметизирован, благодаря чему сводятся к минимуму потери хранимого продукта от испарений, и уменьшается негативное воздействие объектов нефтегазового комплекса на окружающую среду.
Пламегасящий элемент обеспечивает защиту резервуара от проникновения внутрь пламени при возгорании облака газовоздушной смеси, находящейся снаружи.
Кассеты с пламегасящим элементом являются быстросъемными, что позволяет затрачивать минимальное время на выполнение штатных операций по их монтажу и демонтажу.
Клапаны могут быть укомплектованы устройством обогрева (УО), благодаря которому исключается необходимость демонтажа пламегасящего элемента на зимний период, что значительно повышает безопасность эксплуатации резервуарных парков.
Устройство обогрева функционирует в автоматическом режиме, предотвращая образование инея на торцевых поверхностях и в каналах пламегасящего элемента.
Клапаны являются непримерзаемыми, то есть контактные поверхности их седел и затворов покрыты материалом, исключающим примерзание затвора к седлу, благодаря чему работоспособность и надежность клапана не зависит от погодных условий.
Дыхательные клапаны КДС-250 также можно использовать в качестве предохранительных. Для этого клапаны на заводе-изготовителе должны быть отрегулированы на повышенные (на 5–10 %) величины внутреннего давления и вакуума.
Максимальная пропускная способность клапана КДС-250 составляет 250 м3/час, реальная пропускная способность зависит от условного прохода.
Из-за небольшой пропускной способностью клапаны КДС-250 целесообразно устанавливать на резервуары объемом не более 300 м3.
Пример обозначения изделия при заказе: КДС-250-100-П-УО-УХЛ
- КДС — клапан дыхательный совмещенный;
- 250 — максимальная пропускная способность клапанов данного типоразмера в метрах кубических в час (м3/час);
- 100 — условный проход соединительного патрубка в миллиметрах (мм);
- П — настроенный для работы в режиме предохранительного (ОПЦИЯ);
- УО — устройство обогрева (опция);
- УХЛ — климатическое исполнение по ГОСТ 15150-69.
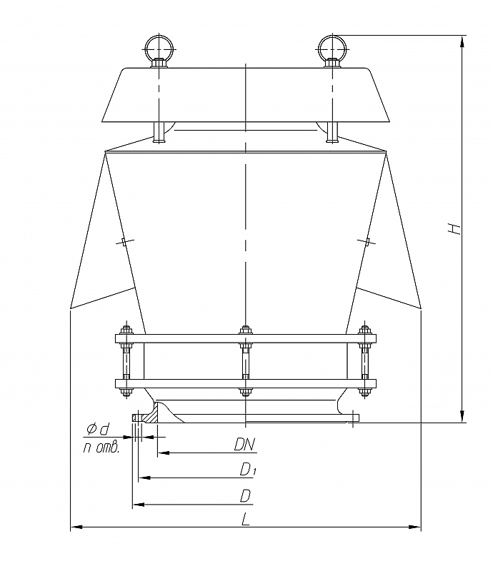
Габаритные размеры клапанов дыхательных совмещенных КДС-250
Технические характеристики клапанов дыхательных совмещенных КДС-250
Наименование параметров | КДС-250-50 | КДС-250-100 | КДС-250-150 | КДС-250-200 | КДС-250-250 | |
Условный проход DN | 50 | 100 | 150 | 200 | 250 | |
Рабочее давление, Па (мм вод. ст.) | 2000 (200) | |||||
Рабочий вакуум, Па (мм вод. ст.) | 250 (25) | |||||
Давление срабатывания, Па (мм вод. ст.) | 1350-1450 (135-145) | |||||
Вакуум срабатывания, Па (мм вод. ст.) | 100-150 (10-15) | |||||
Пропускная способность, м3/ч | 100 | 150 | 200 | 220 | 250 | |
Габаритные размеры, мм не более: - длина L - ширина - высота H | 546 500 600 | 546 500 600 | 546 500 650 | 546 500 600 | 546 500 615 | |
Присоединительные размеры, мм | D | 140 | 205 | 260 | 315 | 370 |
D1 | 110 | 170 | 225 | 280 | 335 | |
d | 14 | 18 | 18 | 18 | 18 | |
n, шт. | 4 | 4 | 8 | 8 | 12 | |
Масса, кг, не более | 19,0 | 19,2 | 19,3 | 19,6 | 20 |
Сведения для монтажа
Обозначение клапана | Ответный фланец (ГОСТ 12820-80) | Прокладка (ГОСТ 15180-86) | Болт (ГОСТ 7798-70) | Гайка (ГОСТ 5915-70) |
КДС-250-50 | 1-50-2,5 | А-50-2,5-ПМБ | М12-6g х45.58 | М12-6Н.5 |
КДС-250-100 | 1-100-2,5 | А-100-2,5-ПМБ | М16-6g х50.58 | М16-6Н.5 |
КДС-250-150 | 1-150-2,5 | А-150-2,5-ПМБ | М16-6g х55.58 | М16-6Н.5 |
КДС-250-200 | 1-200-2,5 | А-200-2,5-ПМБ | М16-6g х60.58 | М16-6Н.5 |
КДС-250-250 | 1-250-2,5 | А-250-2,5-ПМБ | М16-6g х65.58 | М16-6Н.5 |