Вы здесь
Люки-лазы ЛЛ
Люки-лазы ЛЛ предназначены для проникновения внутрь вертикальных стальных резервуаров при монтаже, осмотре, зачистке или проведении ремонтных работ.
Изготавливаются в двух вариантах:
- круглый;
- овальный.
Люк может комплектоваться поворотным устройством, которое существенно облегчает открытие-закрытие.
Устанавливается люк на вертикальной стенке стального резервуара и приваривается к ней через усиливающую накладку.
Сварное соединение — по ГОСТ 5264-80, с учетом требований ПБ 03-605-03. По устойчивости к воздействию климатических факторов внешней среды люки-лазы изготавливаются в исполнении Т, У и УХЛ категории размещения 1 по ГОСТ 15150-69.
Пример условного обозначения: ЛЛ-600-900-П-УХЛ
- ЛЛ — люк-лаз;
- 600-900 — размеры проходного отверстия у овального люка в миллиметрах;
- П — поворотное устройство в комплекте (ОПЦИЯ);
- УХЛ — климатическое исполнение по ГОСТ 15150-69.
Технические характеристики люков-лазы
Наименование параметров | Круглый ЛЛ-600 | Круглый ЛЛ-800 | Овальный ЛЛ-600х900 | Овальный ЛЛ-900х1200 |
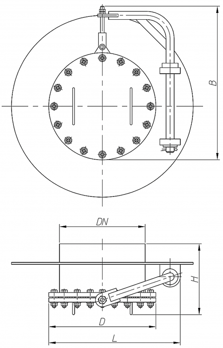
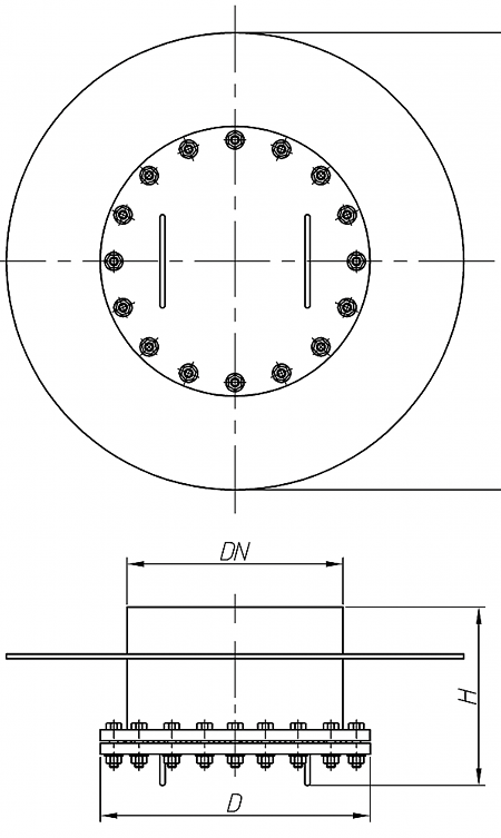
Условный проход, DN | 600 | 800 | — | — |
Размеры овала, мм, не более | — | — | 600х900 | 900х1200 |
Габаритные размеры люков без поворотного устройства, мм, не более: | ||||
диаметр наружный, D | — | — | — | — |
длина, L | 755 | 975 | — | — |
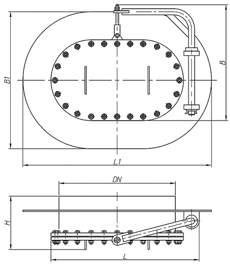
ширина, B | — | — | 1058 | 1400 |
высота, H | — | — | 755 | 1100 |
диаметр усиливающей накладки, DН | 440 | 440 | 440 | 440 |
1260 | 1640 | — | — | |
длина усиливающей накладки, L1 | — | — | 1800 | 2300 |
ширина усиливающей накладки, B1 | — | — | 1300 | 2000 |
Масса, кг, не более | 170 | 240 | 280 | 380 |
Габаритные размеры люков с поворотным устройством, мм, не более (остальное см. для люков без поворотного устройства) | ||||
длина, L ширина, B | 930 1060 | 1140 1360 | 1190 1060 | — — |
Масса, кг, не более | 210 | 280 | 320 | — |
Габаритные размеры люков-лазы
Люки лазы круглые (без поворотного устройства)
Люки лазы круглые (с поворотным устройством)
Люки лазы овальные (без поворотного устройства)
Люки лазы овальные (с поворотным устройством)
Назад к списку