Вы здесь
Люки световые ЛС
Люк световой ЛС предназначен для проветривания резервуаров во врем ремонта или зачистки.
Через люки происходит подъем крышек хлопушек при обрыве рабочего троса. Имеется возможность закрепления запасного троса хлопушки.
Люк световой устанавливается на сферической или щитовой крыше резервуара над хлопушкой, монтируемой на приемо-раздаточном патрубке.
По устойчивости к воздействию климатических факторов внешней среды люки изготавливаются в исполнении Т, У и УХЛ категории размещения 1 по ГОСТ 15150-69.
Пример обозначения ЛС-500-Щ-П-У
- ЛС — люк световой;
- 500 — условный проход в миллиметрах;
- Щ — для резервуаров с щитовой крышей;
- П — поворотное устройство в комплекте (ОПЦИЯ);
- У — климатическое исполнение по ГОСТ 15150-69.
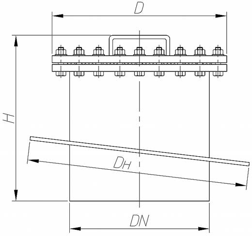
Габаритные размеры люка светового ЛС
без поворотного устройства
с поворотным устройством
Технические характеристики люка светового ЛС
Условное обозначение | Условный проход, DN | Диаметр наружный D мм, не более | Длина L мм, не более | Диаметр усиливающей накладки D1 мм, не более | Высота, Н мм, не более | Масса кг, не более |
ЛС-400 (ЛС-400-Щ) | 400 | 540 | — | 1100 | 380 (300) | 60 |
ЛС-400-П (ЛС-400-Щ-П) | 400 | — | 700 | 1100 | 570 (490) | 90 |
ЛС-500 (ЛС-500-Щ) | 500 | 650 | — | 1100 | 380 (300) | 85 |
ЛС-500-П (ЛС-500-Щ-П) | 500 | — | 810 | 1100 | 570 (490) | 120 |
ЛС-600 (ЛС-600-Щ) | 600 | 760 | — | 1200 | 480 (400) | 140 |
ЛС-600-П (ЛС-600-Щ-П) | 600 | — | 920 | 1200 | 720 (640) | 170 |
ЛС-800 (ЛС-800-Щ) | 800 | 980 | — | 1300 | 620 (520) | 280 |
ЛС-800-П (ЛС-800-Щ-П) | 800 | — | 1070 | 1300 | 890 (790) | 310 |
ЛС-1000 (ЛС-1000-Щ) | 1000 | 1140 | — | 1400 | 620 (520) | 380 |
ЛС-1000-П (ЛС-1000-Щ-П) | 1000 | — | 1320 | 1400 | 890 (790) | 420 |