Вы здесь
Устройство сливное УС
Устройство сливное УС применяется для слива бензи на или дизельного топлива из автоцистерн в резервуары автозаправочных станций (АЗС).
Выпускается двух типоразмеров:
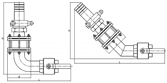
- УС–80–90 — угол поворота сливного патрубка 90°;
- УС–80–135 — угол поворота сливного патрубка 135°.
По устойчивости к воздействию климатических факторов внешней среды устройство сливное изготавливается в исполнении Т, У и УХЛ категории размещения 1 по ГОСТ 15150-69.
Пример обозначения изделия УС-80-135-Т
- УС — устройство сливное;
- 80 — условный проход в миллиметрах;
- 135 — угол поворота сливного патрубка;
- Т — климатическое исполнение по ГОСТ 15150-69;
Габаритные размеры устройства сливного УС
Технические характеристики устройства сливного УС
Наименование параметров | УС-80-90 | УС-80-135 | |
Условный проход DN | 80 | ||
Рабочее давление, МПа, не более | 0,25 | ||
Габаритные размеры, мм, не более: | длина L | 500 | 634 |
ширина B | 210 | 210 | |
высота H | 590 | 426 | |
Масса, кг, не более | 25 |