Вы здесь
Огнепреградители коммуникационные ОПКД
Огнепреградители коммуникационные детонационностойкие ОПКД предназначены для временного предотвращения распространения пламени в технологических трубопроводах, транспортирующих продукты, склонные к детонационному горению.
Находящийся в конструкции пламегасящий элемент кассетного типа, обладает не только высокой теплоемкостью, но и повышенной огнестойкостью.
Достигая огнепреградителя ОПКД, пламя продолжает свое движение по каналам пламегасящего элемента в направлении несгоревшего продукта. При этом в каналах пламегасящего элемента неизбежно происходит потеря тепловой энергии, что приводит к снижению температуры продукта ниже температуры вспышки — пламя гаснет.
Огнепреградители ОПКД устанавливаются на трубопроводах. Соединение фланцевое болтовое.
Соединительные фланцы изделия — по ГОСТ 12820-80, на условное давление (Ру) 40 кгс/см2. Присоединительные размеры фланцев соответствуют исполнению 1 по ГОСТ 12815-80.
По устойчивости к воздействию климатических факторов внешней среды огнепреградители ОПКД изготавливаются в исполнении Т, У и УХЛ категории размещения 1 по ГОСТ 15150-69.
Пример обозначения изделия при заказе: ОПКД-250-УХЛ
- ОПКД — огнепреградитель коммуникационный детонационностойкий;
- 200 — условный проход в миллиметрах (мм);
- УХЛ — климатическое исполнение по ГОСТ 15150-69.
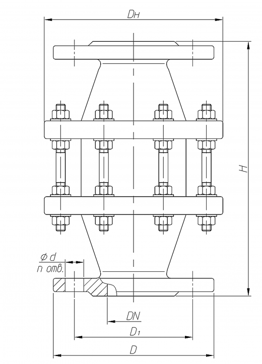
Габаритные размеры огнепреградителей коммуникационных ОПКД
Технические характеристики огнепреградителей коммуникационных ОПКД
Наименование параметров | ОПКД- 32 | ОПКД- 50 | ОПКД- 100 | ОПКД- 150 | ОПКД- 200 | ОПКД- 250 | ОПКД- 300 | |
Условный проход, DN | 32 | 50 | 100 | 150 | 200 | 250 | 300 | |
Максимальное рабочее давление, PN, МПа (кгс/см2), не более | 4,0 (40) | |||||||
Пропускная способность при сопротивлении воздушному потоку 118 Па, м3/ч | 6 | 25 | 150 | 450 | 750 | 1100 | 1430 | |
Присоединительные размеры, мм, не более: | D | 135 | 160 | 230 | 300 | 348 | 445 | 510 |
D1 | 100 | 125 | 190 | 250 | 320 | 385 | 450 | |
d | 18 | 18 | 22 | 26 | 30 | 33 | 33 | |
n | 4 | 4 | 8 | 8 | 12 | 12 | 16 | |
Габаритные размеры, мм, не более: | DН | 160 | 180 | 300 | 375 | 445 | 510 | 620 |
Н | 300 | 326 | 380 | 430 | 490 | 575 | 703 | |
Масса, кг, не более | 18 | 24 | 70 | 100 | 190 | 290 | 390 |
Сведения для монтажа
Обозначение изделия | Ответный фланец (ГОСТ 12820-80) | Прокладка (ГОСТ 15180-86) | Шпилька (ГОСТ 9066-75) | Гайка (ГОСТ 9064-75) |
ОПКД-32 | 1-32-40 | А-32-40-ПМБ | АМ16-6gх90.30 | АМ16—6Н.35 |
ОПКД-50 | 1-50-40 | А-50-40-ПМБ | АМ16-6gх90.30 | АМ16—6Н.35 |
ОПКД-100 | 1-100-40 | А-100-40-ПМБ | АМ20-6gх110.40 | АМ20—6Н.35 |
ОПКД-150 | 1-150-40 | А-150-40-ПМБ | АМ24-6gх120.40 | АМ24—6Н.35 |
ОПКД-200 | 1-200-40 | А-200-40-ПМБ | АМ27-6gх150.50 | АМ27—6Н.35 |
ОПКД-250 | 1-250-40 | А-250-40-ПМБ | АМ30-6gх170.60 | АМ30—6Н.35 |
ОПКД-300 | 1-300-40 | А-300-40-ПМБ | АМ30-6gх180.60 | АМ30—6Н.35 |