Вы здесь

Вентиляционные установки Tribwerk Mini EC УРАЛ 

Компактные вентиляционные установки Tribwerk Mini EC УРАЛ предназначены для подачи свежего, очищенного и подогретого воздуха для жилых, общественных и производственных помещений.

Установки используются для перемещения воздуха и других невзрывоопасных газовых смесей, агрессивность которых по отношению к углеродистым сталям обыкновенного качества:

  1. не выше агрессивности воздуха;
  2. имеющих температуру от минус 25 °С до плюс 40 °С;
  3. не содержащих липких веществ, волокнистых и абразивных материалов;
  4. с содержанием пыли и других твердых примесей не более 100мг/куб.м.

Конструкция Tribwerk Mini EC УРАЛ

  • Корпус из оцинкованной стали;
  • Встроенный керамический электронагреватель;
  • Фильтр класса EU5;
  • Встроенная система управления с выносным проводным ЖК пультом;
  • Встроенный воздушный клапан с электроприводом;
  • Встроенные датчики засорения фильтра.

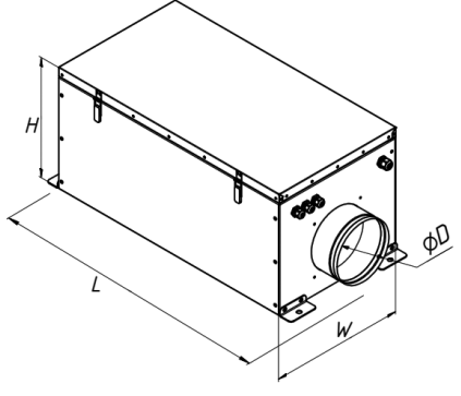
Габаритные размеры Tribwerk Mini EC УРАЛ

Модель Присоединительный диаметр, мм Габаритные размеры (L×W×H), мм Вес, кг
Tribwerk Mini 500 ЕС УРАЛ 160 810×380×325 25
Tribwerk Mini 700 ЕC УРАЛ

Технические характеристики Tribwerk Mini EC

Модель Мощность вентилятора, кВт Мощность нагревателя, кВт Уровень шума, дБ(А) Масса, кг
Tribwerk Mini 500 EC УРАЛ 0.17 3 (1.5+1.5) 32 25
Tribwerk Mini 700 EC УРАЛ 0.19 6 (3+3) 34 26

Аэродинамические характеристики Tribwerk Mini EC УРАЛ

Назад к списку