Вы здесь
Агрегаты пылеулавливающие ПФЦ
Рециркуляционные пылеулавливающие агрегаты ПФЦ предназначены для эффективного отсоса и очистки воздуха от сухой, неслипающейся пыли и стружки. Оборудование применяется в производственных и технологических помещениях, где требуется поддержание нормативной чистоты воздуха и организация локальной аспирации без выброса очищенного воздуха наружу.
Конструкция агрегатов ПФЦ
Агрегат ПФЦ представляет собой компактное и функциональное устройство, включающее корпус, малошумный пылевой вентилятор с профилированными лопатками, встроенный циклонный элемент с улиточным входом для предварительного отделения крупных фракций пыли, пылесборный мешок и фильтровальный элемент. В качестве фильтровального элемента используется кассета из полиэстера, отличающаяся высокой механической прочностью и износостойкостью.
Эффективность очистки воздуха
Агрегаты с фильтровальной кассетой обеспечивают стабильную работу в широком диапазоне размеров пылевых частиц. Встроенный циклонный элемент эффективно отделяет крупные фракции, снижая нагрузку на основной фильтр. Фильтровальные кассеты собственного производства относятся к классам очистки M6 и F9, что позволяет достигать остаточной концентрации мелкодисперсной пыли не более 0,5 мг/м³.
Благодаря развитой поверхности фильтрации кассета обладает высокой пылеёмкостью, что обеспечивает длительную эксплуатацию агрегата без существенного снижения производительности. Допустимая максимальная концентрация пыли на входе в агрегат составляет 15 г/м³ для крупной и 5 г/м³ для мелкой пыли.
Система регенерации фильтра
Фильтровальная кассета оснащается встроенным механическим узлом регенерации внутренней поверхности. В зависимости от исполнения регенерация может осуществляться вручную (индекс «К» в обозначении агрегата) либо автоматически с помощью мотор-редуктора (индекс «КР»). Автоматическая система регенерации срабатывает при каждом выключении агрегата, обеспечивая поддержание стабильных характеристик фильтрации.
Преимущества и комплектация
Агрегаты ПФЦ с фильтровальной кассетой и системой регенерации в большинстве случаев позволяют заменить малогабаритные рукавные фильтры внутреннего исполнения. По желанию заказчика оборудование может комплектоваться воздуховодами, переходами и коллекторами для подключения нескольких точек отсоса, что расширяет возможности применения агрегатов в составе различных аспирационных систем.
Модельный ряд
В модельный ряд рециркуляционных пылеулавливающих агрегатов ПФЦ входят следующие модели:
- ПФЦ-8000КР
- ПФЦ-1250К, ПФЦ-1500К, ПФЦ-2000К
- ПФЦ-3000К, ПФЦ-4000К, ПФЦ-5000К
- ПФЦ-1250КР, ПФЦ-1500КР, ПФЦ-2000КР
- ПФЦ-3000КР, ПФЦ-4000КР, ПФЦ-5000КР
Габаритные и присоединительные размеры
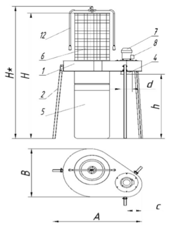
ПФЦ-1250К,ПФЦ-1500К, ПФЦ-2000К

| Модель | Н | Н* | h | d | A | B | c |
| ПФЦ-1250 | 2280 | 2430 | 1305 | 140 | 1300 | 890 | 255 |
| ПФЦ-1500 | 2300 | 2450 | 1305 | 160 | 1300 | 890 | 255 |
| ПФЦ-2000 | 2350 | 2500 | 1310 | 180 | 1300 | 890 | 255 |

Условные обозначения:
- Корпус агрегата в сборе с вентилятором
- Стойка
- Основание
- Входной патрубок
- Пылесборный мешок
- Фильтровальная кассета
- Электродвигатель с вентилятором
- Автоматический выключатель
- Блок управления
- Система регенерации с электроприводом
- Пылесборник (мягкий контейнер)
- Ручная регенерация
ПФЦ-3000К, ПФЦ-4000К, ПФЦ-5000К

| Модель | Н | Н* | h | d | A | B | c |
| ПФЦ-3000 | 2310 | 2460 | 1260 | 225 | 1980 | 835 | - |
| ПФЦ-4000 | 2370 | 2520 | 1260 | 250 | 1980 | 835 | - |
| ПФЦ-5000 | 2430 | 2580 | 1260 | 280 | 1980 | 835 | - |

Условные обозначения:
- Корпус агрегата в сборе с вентилятором
- Стойка
- Основание
- Входной патрубок
- Пылесборный мешок
- Фильтровальная кассета
- Электродвигатель с вентилятором
- Автоматический выключатель
- Блок управления
- Система регенерации с электроприводом
- Пылесборник (мягкий контейнер)
- Ручная регенерация
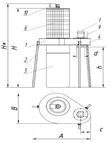
ПФЦ-1250КР, ПФЦ-1500КР, ПФЦ-2000КР

| Модель | Н | Н* | h | d | A | B | c |
| ПФЦ-1250 | 2280 | 2430 | 1305 | 140 | 1300 | 890 | 255 |
| ПФЦ-1500 | 2300 | 2450 | 1305 | 160 | 1300 | 890 | 255 |
| ПФЦ-2000 | 2350 | 2500 | 1310 | 180 | 1300 | 890 | 255 |

Условные обозначения:
- Корпус агрегата в сборе с вентилятором
- Стойка
- Основание
- Входной патрубок
- Пылесборный мешок
- Фильтровальная кассета
- Электродвигатель с вентилятором
- Автоматический выключатель
- Блок управления
- Система регенерации с электроприводом
- Пылесборник (мягкий контейнер)
- Ручная регенерация
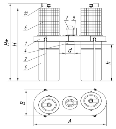
ПФЦ-3000КР, ПФЦ-4000КР, ПФЦ-5000КР

| Модель | Н | Н* | h | d | A | B | c |
| ПФЦ-3000 | 2310 | 2460 | 1260 | 225 | 1980 | 835 | - |
| ПФЦ-4000 | 2370 | 2520 | 1260 | 250 | 1980 | 835 | - |
| ПФЦ-5000 | 2430 | 2580 | 1260 | 280 | 1980 | 835 | - |

Условные обозначения:
- Корпус агрегата в сборе с вентилятором
- Стойка
- Основание
- Входной патрубок
- Пылесборный мешок
- Фильтровальная кассета
- Электродвигатель с вентилятором
- Автоматический выключатель
- Блок управления
- Система регенерации с электроприводом
- Пылесборник (мягкий контейнер)
- Ручная регенерация
ПФЦ-8000КР

| Модель | Н | Н* | h | d | A | B | c |
| ПФЦ-8000 | 2820 | 3000 | 2190 | 355 | 2470 | 1060 | ¯ |

Условные обозначения:
- Корпус агрегата в сборе с вентилятором
- Стойка
- Основание
- Входной патрубок
- Пылесборный мешок
- Фильтровальная кассета
- Электродвигатель с вентилятором
- Автоматический выключатель
- Блок управления
- Система регенерации с электроприводом
- Пылесборник (мягкий контейнер)
- Ручная регенерация
Технические характеристики ПФЦ
| Модель | ПФЦ-1250 | ПФЦ-1500 | ПФЦ-2000 | ПФЦ-3000 | ПФЦ-4000 | ПФЦ-5000 | ПФЦ-8000 |
| Производительность, м³/ч | 1250 | 1500 | 2000 | 3000 | 4000 | 5000 | 8000 |
| Установленная мощность эл.дв., кВт | 0,75 | 1,1 | 1,5 | 3 | 4 | 5,5 | 11 |
| Установленная мощность эл.дв. с преобразователем частоты, кВт | 1,1 | 1,5 | 2,2 | 4 | 5 | 7,5 | 11,15 |
| Количество отсосов, шт. мax | 2 | 3 | 4 | 4 | 4 | 4 | 4 |
| Объем пылесборника, м³ | 0,3 | 0,3 | 0,3 | 2х0,3 | 2х0,3 | 2х0,3 | 2х0,9 |
| Мощность электродвигателя системы регенерации, Вт | 90 | 90 | 90 | 90х2 | 90х2 | 90х2 | 90х2 |
| Вес ПФЦ, кг | 83 | 86 | 91 | 153 | 163 | 177 | 366 |
| Уровень шума, дБА | 74 | 75 | 78 | 79 | 82 | 84 | 86 |




