Вы здесь
Циклон Гипродрева
Циклоны Гипродрева применяются для грубой и средней очистки воздуха от древесных отходов, опилок, стружки и пыли.
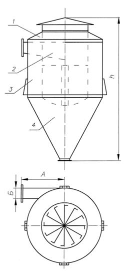
Конструкция циклона состоит из корпуса с крышкой и входным патрубком, конуса и выхлопной трубы.
Очистка воздуха от пыли осуществляется под действием центробежных сил.
При присоединении к циклону двух или трех воздуховодов входной патрубок делится распределительными перегородками пропорционально площадям живых сечений.
Циклоны могут изготавливаться как правого, так и левого исполнения. У циклонов правого исполнения движение воздуха, при взгляде на циклон с верху, происходит по часовой стрелки, у циклонов левого исполнения – против часовой стрелки.
На рисунке изображен циклон правого исполнения. При установки циклона следует предусмотреть его заземление.
Технические характеристики циклона
- Крышка корпуса;
- Выхлопная труба;
- Корпус;
- Конус.
Наименование | Производительность, м3/ч | Диаметр, мм | Высота, мм | Масса, кг |
Циклон ГИПРОДРЕВА №1 | 6000÷8000 | 1900 | 3815 | 574 |
Циклон ГИПРОДРЕВА №3 | 8000÷11500 | 2250 | 4500 | 778 |