Вы здесь
Циклон ЛТА
Циклоны ЛТА предназначены:
- для очистки воздуха от частиц больших размеров, таких как щепки и стружка,
- для очистки от влажных частиц меньших размеров: опилок от пилорам и станков.
Циклоны также используются во время технологических процессов для отделения крупной щепы, а так же как циклон-разгрузитель.
Циклон ЛТА может применяться как для работы на нагнетание, так и для работы на разряжение. Эффективность улавливания древесных отходов крупного и среднего размера составляет 88 — 90 %.
Изготалвиваются циклоны с зонтом и с улиткой.
Циклон с зонтом исключает попадание атмосферных осадков в циклон при установке вне помещения. Устанавливается после вентилятора.
Циклон с улиткой снижает гидравлическое сопротивление и уменьшает нагрузку на вентилятор. Устанавливается перед вентилятором.
Устанавка циклонов производится на бункера или шлюзовые перегрузчики. В бункере происходит накопление материалов, которые периодически удаляются.
Бункер и циклон герметично свариваются, за счет чего увеличиваются показатели на 15% через подсос воздуха снизу.
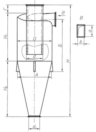
Габаритные размеры циклонов ЛТА

| Размеры, мм | аxb, м2 | Вес, кг | |||||||||||
| а | Д | d1 | H1 | H2 | A | Б | В | Г | в | а | К | ||
| 600 | 1050 | 300 | 1150 | 1215 | 970 | 1400 | 150 | 300 | 230 | 315 | 600 | 0,071 | 428 |
| 700 | 1200 | 330 | 300 | 1500 | 1120 | 1530 | 150 | 350 | 255 | 380 | 700 | 0,095 | 558 |
| 800 | 1350 | 350 | 1450 | 1725 | 1270 | 1660 | 150 | 400 | 280 | 455 | 800 | 0,125 | 657 |
| 900 | 1500 | 380 | 1600 | 1950 | 1420 | 1785 | 200 | 450 | 305 | 515 | 850 | 0,154 | 798 |
| 1000 | 1700 | 420 | 1800 | 2200 | 1620 | 1970 | 200 | 500 | 355 | 560 | 950 | 0,196 | 979 |
Технические характеристики циклона ЛТА
| Типоразмер | Производительность по воздуху, куб.м/час | Диаметр циклона, мм | Высота циклона, мм | Масса, кг |
| Циклон ЛТА № 6 (ЛТА-6) | 4100 — 5500 | 1050 | 2800 | 430 |
| Циклон ЛТА № 7 (ЛТА-7) | 5500 — 7500 | 1200 | 3240 | 560 |
| Циклон ЛТА № 8 (ЛТА-8) | 7500 — 9500 | 1350 | 3680 | 660 |
| Циклон ЛТА № 9 (ЛТА-9) | 9500 — 12000 | 1500 | 4120 | 800 |
| Циклон ЛТА №10 (ЛТА-10) | 12000 — 14500 | 1700 | 4630 | 980 |



