Вы здесь
Циклон ОЭКДМ
Циклон ОЭКДМ используется в системах обработки древесины, в том числе измельченной древесины, содержащей пыль:
- сырые опилки;
- сырая стружка;
- витая стружка;
- кора;
- дробленка;
- щепа.
Циклон ОЭКДМ изготавливается для левого и правого вращения потока газа.
Правое вращение представляет собой вращение потока газа в устройстве по часовой стрелке, левое – против часовой стрелки.
В обоих случаях смотреть следует со стороны выхлопной трубы.
Монтаж циклона ОЭКДМ
Устанавливается циклон ОЭКДМ после пылевого вентилятора.
Каждый циклон должен герметично соединяться с бункером достаточной емкости, так как коэффициент очистки значительно уменьшается в связи с накоплением древесных отходов в конической циклонной части.
Вместимость бункеров под циклон рассчитывается по суточному накоплению отходов – до 35 м3.
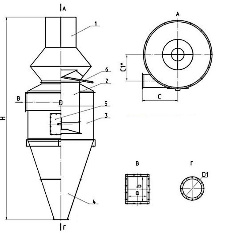
Габаритные размеры циклона ОЭКДМ
- выхлопная труба (выходящий патрубок);
- внутренний стакан;
- корпус циклона;
- конус циклона;
- люк;
- сливной патрубок.
Технические характеристики циклона ОЭКДМ
Обозначение | Производительность по воздуху, м3/час | Высота, мм | Диаметр, мм | Масса, кг |
Циклон ОЭКДМ К8 | 1900-2300 | 2450 | 800 | 76 |
Циклон ОЭКДМ К10 | 2700-3300 | 3115 | 1000 | 170 |
Циклон ОЭКДМ К12 | 3860-4730 | 3780 | 1200 | 265 |
Циклон ОЭКДМ К14 | 5520-6750 | 4315 | 1400 | 365 |
Циклон ОЭКДМ К16 | 6200-8000 | 4915 | 1600 | 475 |
Циклон ОЭКДМ К18 | 8000-10500 | 5565 | 1800 | 630 |
Циклон ОЭКДМ К20 | 9800-12900 | 6150 | 2000 | 1060 |
Циклон ОЭКДМ К22 | 11600-15200 | 6505 | 2200 | 1280 |
Циклон ОЭКДМ К24 | 14100-18550 | 7295 | 2400 | 1350 |
Циклон ОЭКДМ К30 | 22150-28500 | 9160 | 3000 | 1650 |
Условное обозначение циклона типа ОЭКДМ К:
- ОЭКДМ К 16-01 К - условное обозначение циклона типа Клайпедского ОЭКДМ;
- 16 - число, обозначающее диаметр корпуса циклона;
- 01 - правое исполнение;
- К 16 - циклон-разгрузитель типа К левого исполнения.