Вы здесь
Циклон СЦН-50
Циклон СЦН-50 предназначен для очистки технологических газов и аспирационных выбросов от средне и мелкодисперсной пыли.
Повышенная стойкость к абразивному износу достигнуто за счет следующего: спиральный ввод запыленного газа в циклон, увеличение длины цилиндрической части циклона и увеличению диаметра выхода пыли из циклона.
Эффективность циклонов СЦН-50 в зависимости от характеристик улавливаемых частиц составляет 80-95%. Сопротивление циклонов порядка 1000-1200 Па. Коэффициент гидравлического сопротивления – 185.
Применяется для очистки газовоздушной смеси от:
- золы при технологических процессах сушки;
- сажи из дымовых газов в котельных установках;
- песка в строительной промышленности;
- сахарной пудры после помола;
- металлических частиц образующейся в различных отраслях промышленности.
Модельный ряд циклонов представлен одиночными и групповыми моделями в различной комплектации:
- с бункером;
- без бункера;
- с улиткой;
- без улитки.
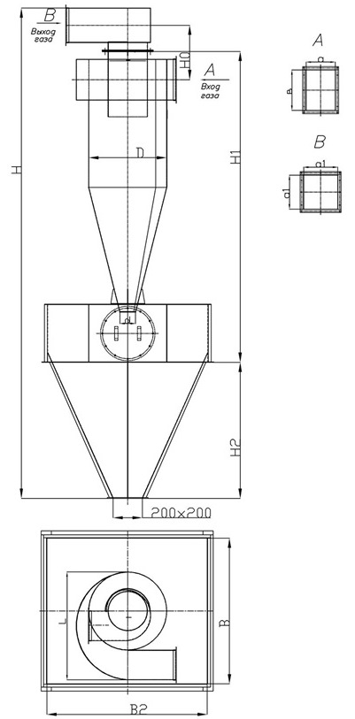
Технические характеристики циклонов СЦН-50
циклон СЦН-50 без улитки/с улиткой
Наименование | Производительность, м3/ч | D | H/H1 | L | H0 | a/b | a1 | d | масса, кг |
СЦН-50-300 | 623-890 | 300 | 1325/1055 | 420 | 390 | 75/150 | 135 | 80 | 38 |
СЦН-50-400 | 1130-1582 | 400 | 1650/1380 | 530 | 425 | 100/200 | 180 | 110 | 64 |
СЦН-50-500 | 1760-2473 | 500 | 2025/1705 | 670 | 490 | 125/250 | 225 | 135 | 97 |
СЦН-50-600 | 2543-3560 | 600 | 2450/2030 | 830 | 575 | 150/300 | 270 | 160 | 141 |
СЦН-50-700 | 3462-4846 | 700 | 2775/2355 | 950 | 615 | 175/350 | 315 | 188 | 187 |
СЦН-50-800 | 4522-6330 | 800 | 3200/2680 | 1110 | 700 | 200/400 | 360 | 215 | 246 |
СЦН-50-900 | 5723-8012 | 900 | 3525/3005 | 1220 | 740 | 225/450 | 405 | 242 | 305 |
СЦН-50-1000 | 7065-9891 | 1000 | 3950/3330 | 1380 | 825 | 250/500 | 450 | 269 | 380 |
СЦН-50-1200 | 10174-14243 | 1200 | 4700/3980 | 1650 | 950 | 300/600 | 540 | 323 | 543 |
СЦН-50-1400 | 13843-19386 | 1400 | 5350/4630 | 1880 | 1025 | 350/700 | 630 | 376 | 721 |
СЦН-50-1600 | 18086-25320 | 1600 | 6100/5280 | 2160 | 1110 | 400/800 | 720 | 430 | 939 |
СЦН-50-1800 | 22891-32046 | 1800 | 6860/5930 | 2435 | 1280 | 450/900 | 810 | 484 | 1189 |
СЦН-50-2000 | 28260-39564 | 2000 | 7510/6580 | 2660 | 1350 | 500/1000 | 900 | 538 | 1446 |
СЦН-50-2200 | 34195-47872 | 2200 | 7810/7230 | 2935 | 1480 | 550/1100 | 990 | 590 | 1654 |
СЦН-50-2400 | 40694-56972 | 2400 | 8510/7880 | 3210 | 1610 | 600/1200 | 1080 | 645 | 1966 |
СЦН-50-2600 | 47759-66863 | 2600 | 9660/8530 | 3435 | 1680 | 650/1300 | 1170 | 700 | 2418 |
СЦН-50-2800 | 55390-77545 | 2800 | 10200/9180 | 3795 | 1880 | 700/1400 | 1260 | 755 | 2749 |
СЦН-50-3000 | 63585-89019 | 3000 | 10920/9830 | 4050 | 2010 | 750/1500 | 1350 | 806 | 3250 |
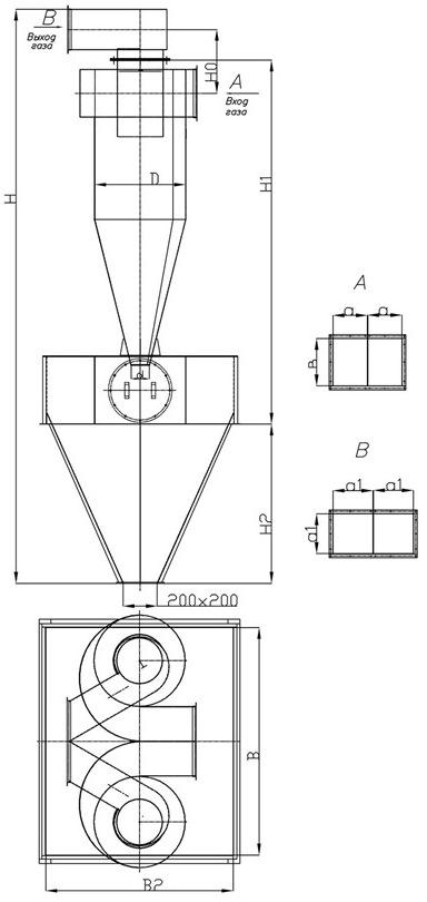
одиночный на бункере
Наименование | Производительность, м3/ч | D | H/H1 | В/В2 | d | L | H2 | Объем, м3 | масса, кг |
СЦН-50-300х1 | 623-890 | 300 | 1325/1055 | 360 | 200 | 390 | 600 | 0,11 | 103 |
СЦН-50-400х1 | 1130-1582 | 400 | 1650/1380 | 480 | 200 | 480 | 800 | 0,21 | 64 |
СЦН-50-500х1 | 1760-2473 | 500 | 2025/1705 | 600 | 200 | 600 | 1000 | 0,35 | 97 |
СЦН-50-600х1 | 2543-3560 | 600 | 2450/2030 | 720 | 200 | 720 | 1200 | 0,54 | 141 |
СЦН-50-700х1 | 3462-4846 | 700 | 2775/2355 | 840 | 200 | 840 | 1400 | 0,78 | 187 |
СЦН-50-800х1 | 4522-6330 | 800 | 3200/2680 | 960 | 200 | 960 | 1600 | 1,08 | 246 |
СЦН-50-900х1 | 5723-8012 | 900 | 3525/3005 | 1080 | 200 | 1080 | 1800 | 1,44 | 305 |
СЦН-50-1000х1 | 7065-9891 | 1000 | 3950/3330 | 1200 | 200 | 1200 | 2000 | 1,87 | 380 |
СЦН-50-1200х1 | 10174-14243 | 1200 | 4700/3980 | 1440 | 200 | 1440 | 2400 | 2,96 | 543 |
СЦН-50-1400х1 | 13843-19386 | 1400 | 5350/4630 | 1680 | 200 | 1680 | 2800 | 4,40 | 721 |
СЦН-50-1600х1 | 18086-25320 | 1600 | 6100/5280 | 1920 | 200 | 1920 | 3200 | 6,23 | 939 |
СЦН-50-1800х1 | 22891-32046 | 1800 | 6860/5930 | 2160 | 200 | 2160 | 3600 | 8,50 | 1189 |
СЦН-50-2000х1 | 28260-39564 | 2000 | 7510/6580 | 2400 | 200 | 2400 | 4000 | 11,25 | 1446 |
СЦН-50-2200х1 | 34195-47872 | 2200 | 7810/7230 | 2640 | 200 | 2640 | 4400 | 14,54 | 1654 |
СЦН-50-2400х1 | 40694-56972 | 2400 | 8510/7880 | 2880 | 200 | 2880 | 4800 | 18,40 | 1966 |
СЦН-50-2600х1 | 47759-66863 | 2600 | 9660/8530 | 3120 | 200 | 3120 | 5200 | 22,89 | 2418 |
СЦН-50-2800х1 | 55390-77545 | 2800 | 10200/9180 | 3360 | 200 | 3360 | 5600 | 28,05 | 2749 |
СЦН-50-3000х1 | 63585-89019 | 3000 | 10920/9830 | 3600 | 200 | 3600 | 6000 | 33,92 | 3250 |
группа из двух циклонов на общем бункере
Наименование | Производительность, м3/ч | D | H/H1 | H2 | B | B2 | d | Объем, м3 | масса, кг |
СЦН-50-400х2 | 2260-3164 | 400 | 3170/1830 | 870 | 1100 | 1100 | 200 | 1,03 | 322 |
СЦН-50-500х2 | 3520-4946 | 500 | 3810/2155 | 1080 | 1300 | 1300 | 200 | 1,56 | 464 |
СЦН-50-600х2 | 5086-7120 | 600 | 4230/2480 | 1080 | 1300 | 1300 | 200 | 4,56 | 530 |
СЦН-50-700х2 | 6924-9692 | 700 | 4980/2810 | 1400 | 1600 | 1600 | 200 | 2,64 | 779 |
СЦН-50-800х2 | 9044-12660 | 800 | 5400/3130 | 1400 | 1600 | 1600 | 200 | 2,64 | 871 |
СЦН-50-900х2 | 11446-16024 | 900 | 6430/3455 | 2000 | 2100 | 2100 | 200 | 5,45 | 1350 |
СЦН-50-1000х2 | 14130-19782 | 1000 | 6850/3780 | 2000 | 2100 | 2100 | 200 | 5,45 | 1468 |
СЦН-50-1200х2 | 20348-28486 | 1200 | 7500/4430 | 2000 | 2400 | 2400 | 200 | 7,07 | 1741 |
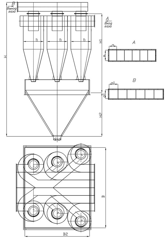
группа из четырех циклонов на общем бункере
Наименование | Производительность, м3/ч | D | H/H1 | H2 | B | B2 | D/d | Объем, м3 | масса, кг |
СЦН-50-400х4 | 4520-6328 | 400 | 3170/1830 | 860 | 1100 | 1100 | 400/200 | 1,03 | 501 |
СЦН-50-500х4 | 7040-9892 | 500 | 4100/2155 | 1400 | 1600 | 1600 | 550/200 | 2,64 | 885 |
СЦН-50-600х4 | 10172-14240 | 600 | 4600/2480 | 1400 | 1600 | 1600 | 600/200 | 2,64 | 1061 |
СЦН-50-700х4 | 13848-19384 | 700 | 5550/2810 | 2000 | 2100 | 2100 | 700/200 | 5,45 | 1606 |
СЦН-50-800х4 | 18088-25320 | 800 | 6050/3130 | 2000 | 2100 | 2100 | 800/200 | 5,45 | 1842 |
СЦН-50-900х4 | 22892-32048 | 900 | 6375/3455 | 2000 | 2400 | 2400 | 900/200 | 7,07 | 2201 |
СЦН-50-1000х4 | 28260-39564 | 1000 | 7400/3780 | 2500 | 2600 | 2600 | 1000/200 | 9,48 | 2795 |
СЦН-50-1200х4 | 40696-56972 | 1200 | 8050/4430 | 2500 | 3100 | 3100 | 1000/200 | 13,36 | 3692 |
группа из шести циклонов на общем бункере
Наименование | Производительность, м3/ч | D | H/H1 | H2 | B | B2 | d | Объем, м3 | масса, кг |
СЦН-50-500х6 | 10560-14838 | 500 | 4230/2155 | 1400 | 1790 | 1600 | 200 | 2,95 | 1109 |
СЦН-50-600х6 | 15258-21360 | 600 | 5260/2480 | 2000 | 2170 | 2100 | 200 | 5,63 | 1719 |
СЦН-50-700х6 | 20772-29076 | 700 | 5690/2810 | 2000 | 2520 | 2300 | 200 | 7,11 | 2107 |
СЦН-50-800х6 | 27132-37980 | 800 | 6310/3130 | 2200 | 2870 | 2500 | 200 | 9,27 | 2661 |