Вы здесь
Циклоны ЦН-15 (взрывобезопасное исполнение)
Циклоны ЦН-15 во взрывобезопасном исполнении предназначены для очистки газов и воздуха от пылевых частиц. Принцип работы основан на центробежном эффекте.
На входе в циклон поступательное движение пылевой смеси превращается во вращательное с направлением пылевого потока вниз. Под действием сил инерции частицы движутся к наружной стене циклона и затем поступают в пылевой бункер. Очищенный воздух выходит через выхлопную трубу в отводящий трубопровод.
Циклоны выпускаются для взрывоопасных и взрывобезопасных топлив левого и правого исполнения. При правом исполнении выход пылевоздушного потока осуществляется по часовой стрелке, при левом – против часовой стрелки (если смотреть со стороны входного патрубка).
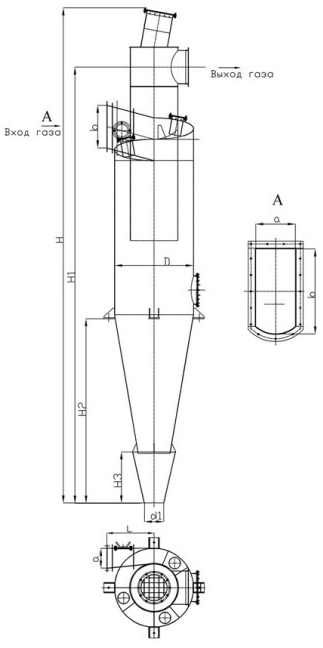
Состоит из корпуса, входного патрубка, бункера и выхлопной трубы. Все узлы выполнены сварными из углеродистой стали.
Корпус циклона состоит из цилиндрической и конической частей. Для осмотра и ремонта внутренних стенок циклона в корпусе и входном патрубке имеются люки.
На циклонах ЦН-15 , предусмотренных для работы на взрывоопасных топливах, предусмотрены взрывные клапаны, расположенные на спиральном листе и крышке выхлопной камеры.
Технические характеристики ЦН-15
Наименование | Производительность по воздуху м3/ч | D, мм | Н, мм | а, мм | b, мм | Масса, кг | Н1, мм | Н2, мм | Н3, мм | D1, мм | L, мм | d1, мм | S, мм |
Циклон ЦН-15-750 | 4500-5000 | 750 | 5200 | 183 | 405 | 423 | 4125 | 1800 | 468 | 953 | 450 | 273 | 4 |
Циклон ЦН-15-900 | 5000-7500 | 800 | 6050 | 222 | 486 | 525 | 4400 | 1920 | 499 | 1016 | 540 | 273 | 4 |
Циклон ЦН-15-1050 | 7500-10000 | 1050 | 6790 | 260 | 567 | 967 | 5775 | 2520 | 655 | 1334 | 630 | 273 | 5 |
Циклон ЦН-15-1120 | 10000-15000 | 1120 | 7058 | 281 | 605 | 1072 | 6199 | 2648 | 699 | 1430 | 672 | 273 | 5 |
Циклон ЦН-15-1250 | 15000-20000 | 1250 | 7802 | 315 | 675 | 1322 | 6862 | 2951 | 780 | 1555 | 750 | 273 | 5 |
Циклон ЦН-15-1400 | 20000-25000 | 1400 | 8753 | 352 | 755 | 1661 | 7672 | 3338 | 874 | 1705 | 840 | 273 | 5 |
Циклон ЦН-15-1600 | 25000-30000 | 1600 | 9973 | 405 | 865 | 2163 | 8744 | 3852 | 998 | 1905 | 960 | 273 | 5 |
Циклон ЦН-15-1800 | 30000-35000 | 1800 | 11095 | 456 | 975 | 2707 | 9819 | 4364 | 1123 | 2105 | 1080 | 273 | 5 |
Циклон ЦН-15-2000 | 40000-45000 | 2000 | 12020 | 504 | 1080 | 3259 | 10900 | 4882 | 1248 | 2305 | 1200 | 377 | 5 |
Циклон ЦН-15-2240 | 45000-50000 | 2240 | 13475 | 565 | 1210 | 4092 | 12193 | 5497 | 1398 | 2545 | 1345 | 377 | 5 |
Циклон ЦН-15-2360 | 50000-60000 | 2360 | 14151 | 594 | 1275 | 4528 | 12840 | 5806 | 1473 | 2665 | 1415 | 377 | 5 |
Циклон ЦН-15-2650 | 60000-70000 | 2650 | 15890 | 668 | 1430 | 6850 | 14409 | 6575 | 1654 | 2955 | 1590 | 377 | 6 |
Циклон ЦН-15-2800 | 70000-80000 | 2800 | 16807 | 706 | 1510 | 7656 | 15200 | 6940 | 1747 | 3105 | 1680 | 377 | 6 |
Циклон ЦН-15-3000 | 80000-90000 | 3000 | 17925 | 760 | 1620 | 8748 | 16270 | 7452 | 1872 | 3305 | 1800 | 377 | 6 |