Вы здесь

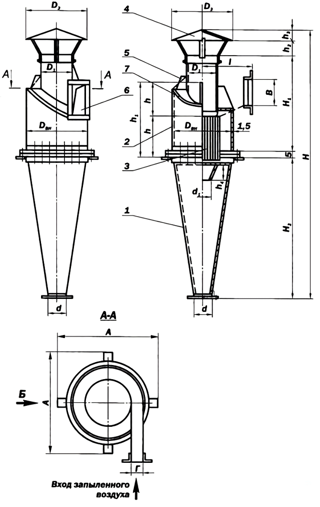
Циклоны Гипродревпрома типа Ц-1320 

Циклоны Гипродревпрома типа Ц-1320 предназначены для механического улавливания древесных отходов (стружки, опилок, пыли) в системе пневмотранспорта. 

Наличие сепаратора в нижней части выхлопной трубы способствует дополнительному раскручиванию запыленного потока воздуха и, тем самым, увеличению эффективности очистки воздуха.

В нижней части сепаратора установлено коническое кольцо, исключающее захват взмученных мелких частиц пыли потоком очищенного воздуха.

Циклоны могут быть изготовлены правого и левого исполнения.

Основная область применения - предприятия деревообрабатывающей промышленности, где в процессе обработки на различных станках древесины и материалов из дерева возникает большое количество вредных отходов (стружки, опилок и пыли).

Конструкция Ц-1320

  1. Конуса;
  2. Корпуса;
  3. Сепаратора;
  4. Зонта;
  5. Косынки;
  6. Входного патрубка;
  7. Крышки корпуса.

Технические характеристики Ц-1320

Наименование Производительность по воздуху м3 Диаметр, мм Высота, мм Масса, кг
Циклон Ц-1320 12550-15700 1320 6045 458,9
Назад к списку