Вы здесь

Пылеулавливающая установка (циклон) ЗИЛ-1600 

Пылеулавливающие агрегаты ЗИЛ-1600 также являются промышленными пылесосами (циклонами) и служат для отсоса и очистки воздуха от примесей пыли, мелкой и крупной металлической стружки.

Данный перечень загрязнений может образовываться в результате обработки сухим способом металлических изделий на заточных, шлифовальных и металлорежущих станках.

Характеристики агрегатов ЗИЛ-1600

  • Надежная и проверенная техника;
  • Простая конструкция;
  • Изготавливается в климатическом исполнении УХЛ 4.2 по ГОСТ 15150-69;
  • Температура окружающей среды от -40°С до +40°С;
  • Относительная влажность до 100% при температуре 25ºС;
  • Группа эксплуатации в части воздействия механических факторов окружающей среды - М21 по ГОСТ 17516.1-90.

Перемещаемая среда не должна содержать липких веществ, волокнистых материалов, иметь агрессивность по отношению к углеродистым сталям выше агрессивности воздуха.

Максимально допустимый уровень запыленности воздуха для нормальной работы этих агрегатов не должен превышать 350 мг/м3.

При обеспечении защиты электродвигателя от атмосферных воздействий допускается использование вентиляторов по 1-й категории размещения.

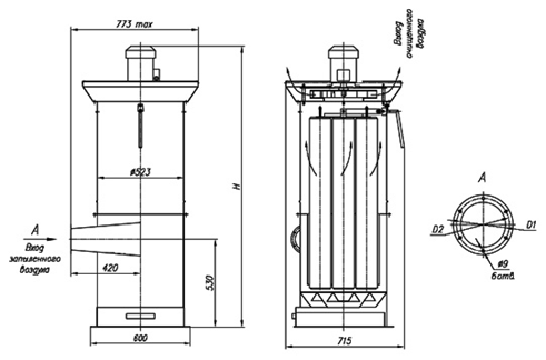
Габаритные размеры агрегатов ЗИЛ-1600

Параметры ЗИЛ-900, ЗИЛ-1600

Размеры, мм ЗИЛ-1600
H 2100
D1 180
D2 210

Комплектация ЗИЛ-1600

  • Электродвигатель АИР80В2;
  • Вентиляционный отсек;
  • Металлический корпус;
  • Семь рукавных фильтров;
  • Встряхивающий механизм с рукояткой;
  • Присоединительный патрубок;
  • Бункер с совком для сбора продуктов очистки

№ п/п

Параметры

ЗИЛ-1600

1

Производительность по чистому воздуху, м3

1520

2

Допускаемая запыленность очищаемого воздуха, мг/м3

35

3

Эффективность пылеулавливания, %

99

4

Очищаемая среда

неагрессивная, невзрывоопасная

5

Поверхность фильтрования, м2

3,9

6

Тип электродвигателя

АИР 80В2

7

Мощность электродвигателя, кВт

2,2

8

Частота вращения, об/мин

2835

9

Род тока

99

10

Габаритные размеры, (длина х ширина х высота)

773 х 715 х 2100

11

Масса, кг, не более

150

Назад к списку