Скруббер Plast-Product 

Скрубберы Plast-Product предназначены для очистки воздуха от пылевых и газовых смесей, а также токсичных испарений.

Они эффективно улавливают как твердые загрязнители, так и газообразные компоненты.

Аппараты мокрой очистки значительно превосходят сухие аналоги по эффективности.

Полые скрубберы способны улавливать частицы диаметром ≥ 10 мкм при гидравлическом сопротивлении до 25 мм вод. ст. С установкой трубок Вентури возможна очистка пыли до 1 мкм, при этом сопротивление увеличивается до 1000 мм вод. ст.

Принцип работы

Слово «скруббер» переводится как «чистить» или «скрести». Устройство применяется для очистки загрязненного воздуха, а также для охлаждения и увлажнения газов. Скрубберы могут быть прямоточными или противоточными, с цилиндрической или конической формой барабана.

Внутри барабана материал перемещается с помощью лопастей или спиралей и промывается подаваемой водой. Глинистые и мелкие примеси вымываются и удаляются. Прямоточные модели используются для слабопрочных и среднепромывистых составов, где вода и материал движутся в одном направлении. В противоточных скрубберах поток воды и материала направлен навстречу друг другу, что повышает интенсивность промывки.

Мокрая очистка обеспечивает высокую степень улавливания мелких частиц. Поток воды распыляется на капли, которые оседают на загрязнениях. Далее смесь поступает в расширитель, где скорость потока снижается, происходит коагуляция частиц. Тяжелые примеси оседают в приемнике, а очищенный воздух выводится наружу или подается в технологические линии для повторного использования.

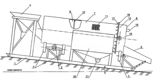
Скруббер для промывки полезных ископаемых

Процесс очистки

Мокрый горизонтальный скруббер

Преимущества мокрых скрубберов

  • Удаление твердых частиц осуществляется через смачивание и стекание водяной пленки, завихрения и комбинированные методы. Основные преимущества:
  • Высокая степень очистки воздуха – скрубберы Вентури могут улавливать частицы диаметром ≥ 0,1 мкм, что соответствует нормативным требованиям.
  • Экономичность – низкая стоимость оборудования снижает себестоимость производимой продукции.
  • Универсальность – оборудование можно использовать для очистки, увлажнения или охлаждения воздуха.
  • Долговечность – скрубберы из полипропилена обладают сменными вставками в наиболее изнашиваемых зонах, что позволяет продлевать срок службы агрегата без потери характеристик.

Типы скрубберов

Полые (форсуночные) – простые агрегаты с низким гидравлическим сопротивлением. Могут быть прямоточными или противоточными. Форсунки распыляют воду по всей площади сечения, а загрязненный воздух очищается по мере движения вверх. Шлам собирается в отдельной емкости.

Насадочные – внутри корпуса установлены специальные насадки, повышающие эффективность очистки при снижении расхода воды и гидравлического давления. Насадки могут быть круглыми, спиральными или плоскими. Применяются на крупных предприятиях с последовательным подключением нескольких скрубберов.

Пенные – воздух проходит через решетки, образующие пену, которая поглощает частицы ≥ 5 мкм. Эффективность очистки достигает 99%, скорость потока – 4–5 м/с. Известны также как тарельчатые скрубберы.

Центробежные – газовые потоки смешиваются с водой и вращаются внутри корпуса. Центробежная сила осаждает тяжелые частицы на стенки, затем они стекают в приемник. Эффективность улавливания частиц ≥ 30 мкм – не менее 90%.

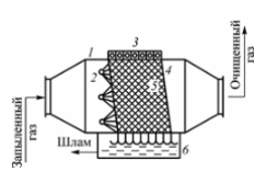
Скрубберы Вентури – используют принцип трубы Вентури. Загрязненный воздух и вода подаются в верхний конус, ускоряются в узкой части трубы, вода дробится на капли и осаждает твердые частицы. В диффузоре поток замедляется, а очищенные частицы оседают в поддон. Очищенный воздух выходит наружу.

Труба Вентури позволяет регулировать скорость потока за счет особенностей профиля, а диаметр в различных сечениях подбирается расчетным путем для максимальной эффективности очистки.

Назад к списку