Вы здесь

Картриджные фильтры FMC200-6-MAT 

Картриджные фильтры FMC200-6-MAT подходят для фильтрации мелкодисперсной пыли во время сварки, плазменной резки, шлифовки по металлу, а также сбора пыли от большинства сыпучих и порошкообразных материалов.

Конструктивные особенности

  • Вертикальное расположение картриджей исключает повторное осаждение пыли в процессе самоочистки.
  • Модульная конструкция позволяет соединять несколько установок в одну систему, обеспечивая производительность до 200 000 м³/час.
  • Компактность.
  • Возможно использование различных фильтроматериалов на различные виды пылей.
  • Специальные направляющие позволяют быстро и удобно извлекать картриджи для замены.
  • Очистка фильтров сжатым воздухом производится автоматически.
  • Установки могут комплектоваться встроенными или внешними вентиляторами.

Область применения

  • Сварка;
  • Термическая резка;
  • Дробеструйная обработка;
  • Обтачивание;
  • Красящие пигменты;
  • Шлифование;
  • Перегрузка порошков и сыпучих материалов;
  • Пищевые и химические производства;

Подбор оборудования

Для подбора оптимальной конфигурации системы необходимо учитывать следующие факторы:

  • тип фильтроматериала необходимо подобрать исходя из характеристик пыли;
  • не рекомендуется превышать значение допустимого воздушного потока;
  • объем контейнера для сбора пыли подбирается исходя из объема удаляемых загрязнений.

Технические характеристики

  FMC200-6L-MAT FMC200-6A-MAT
Количество картриджей в установке, шт. 24 24
Площадь фильтровальной поверхности, м² Полиэстер: 96
Целлюлоза: 216
Полиэстер: 159
Целлюлоза: 348
Максимальная производительность, м³/ч 9600 15900
Максимальная потеря давления, Па 1200 1200
Диаметр входного патрубка, мм 315 315
Масса установки, кг 677 780

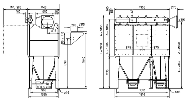
Гбаритные размеры

razmer15

Назад к списку