Вы здесь
Фильтры на пайку МАТ-515-400
Фильтр ФПА-400, благодаря использованию фильтрующих элементов на бумажно-тканевой основе, обеспечивает высокоэффективную очистку воздуха от аэрозолей (включая паяльный) и мелкодисперсной сухой неслипающейся пыли, образующейся в ходе различных производственных процессов.
Характеристики фильтров ФПА-400:
- Производительность: до 400 м³/ч.
- Степень очистки: до 98%.
Фильтр предназначен для очистки воздуха от аэрозолей, выделяющихся при пайке или точечной сварке, а также от мелкодисперсной сухой, невзрывоопасной и неслипающейся пыли с низкой начальной концентрацией, которая образуется в производственных и лабораторных условиях.
Основные параметры:
- Максимальная температура загрязненного воздуха не должна превышать 60°C.
- Применение: цеха пайки, цеха точечной сварки, лаборатории.
Конструкция фильтра:
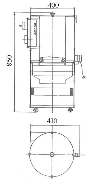
- Фильтр выполнен в виде цилиндрического корпуса, в верхней части которого расположены один или два входных патрубка диаметром 80 мм или 100 мм.
- Внутри корпуса находится основной фильтрующий элемент на бумажно-тканевой основе, обернутый в предфильтр из химически стойкого пористого полимера.
- Под фильтрующим элементом установлен канальный вентилятор, управляемый с помощью пульта на корпусе.
Дополнительные возможности:
-
Фильтр может быть оснащен угольной кассетой для дополнительной очистки газообразной фазы паяльного или сварочного аэрозоля.
Габаритные размеры МАТ-515-400
Технические характеристики МАТ-515-400
Наименование показателей | МАТ-515-400 | |
Расход воздуха, м3/ч | 400 | |
Степень очистки,% | 98 | |
Кол-во обслуживаемых постов, шт. | 1-2 | |
Кол-во фильтрующих элементов | 1 | |
Площадь фильтрующей поверхности, м2 | 9 | |
Характеристика электродвигателя вентилятора | N,кВт | 0,2 |
U,в | 220 | |
Располагаемое давление, Па | 500 |