Вы здесь
Механический передвижной фильтр МАТ-522-1800-2
Передвижной механический фильтр МАТ-522-1800-2 предназначен для очистки воздуха от сварочного аэрозоля, возникающего при сварке и ручной газовой резке металлов, а также для удаления мелкодисперсной сухой, невзрывоопасной и неслипающейся пыли, образующейся при порошковой окраске изделий, механической обработке металлических и пластиковых деталей.
Максимальная температура загрязненного воздуха, поступающего в фильтр, не должна превышать 60°C.
Благодаря фильтрующим элементам на основе бумажно-тканевого материала, устройство обеспечивает глубокую очистку воздуха от аэрозолей (включая сварочный) и мелкодисперсной сухой пыли, выделяющейся в различных производственных процессах.
Воздухозаборное устройство позволяет максимально приблизить воронку к источнику вредных выбросов, что повышает эффективность очистки.
Область применения МАТ-522-1800-2
- сварочные цеха;
- цеха механической обработки металла;
- цеха механической обработки пластмасс.
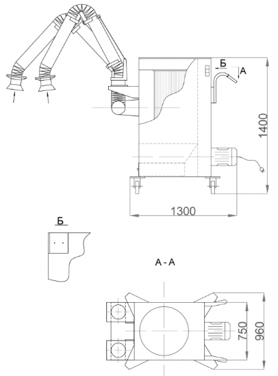
Фильтр МАТ-522-1800-2 состоит из корпуса с самофиксирующимся воздухозаборным устройством (расположенным в верхней части), колесами и ручками для удобного перемещения по полу. Внутри корпуса установлена система отбойников, которая отделяет крупные частицы пыли, окалину и предотвращает попадание искр на основной фильтрующий элемент. За системой отбойников расположен картриджный фильтрующий элемент.
Фильтр оснащен вентилятором, пусковой аппаратурой, кабелем питания длиной 5 метров и разъемом для подключения к электросети. Устройство выпускается с воздуховытяжным устройством диаметром 160 мм в следующих модификациях:
- МАТ-522-1800-2 с радиусом обслуживания (Rобсл.) = 2,0 м;
- МАТ-522-1800-2У с радиусом обслуживания (Rобсл.) = 3,2 м;
- МАТ-522-1800-2УМ с радиусом обслуживания (Rобсл.) = 4,0 м.
Дополнительные опции для фильтра:
- угольная кассета для доочистки газообразной фазы сварочного аэрозоля.
Габаритные размеры МАТ-522-1800-2
Технические характеристики МАТ-522-1800-2
Наименование показателей | Марка агрегата | |||
МАТ-522-1800-2 | МАТ-522-1800-2У | МАТ-522-1800-2УМ | ||
Расход воздуха, м3/ч | 1800 | |||
Степень очистки,% | 98 | |||
Кол-во обслуживаемых постов, шт. | 2 | |||
Радиус поворота воздухоприёмного устройства, м | 2 | 3,2 | 4 | |
Диаметр вытяжного устройства, мм | 160 | |||
Угол поворота воздухоприёмного устройства, град. | 360 | |||
Кол-во фильтрующих элементов | 1 | |||
Площадь фильтрующей поверхности, м2 | 30 | |||
Характеристика электродвигателя вентилятора | N,кВт | 1,5 | 1,5 | 1,5 |
U,в | 220 | 220 | 220 |