Вы здесь

Бесконсольное вытяжное устройство МАТ-501 200 

Бесконсольное вытяжное устройство МАТ-501 200 предназначено для удаления загрязненного воздуха, образующегося в ходе различных производственных процессов.

Конструкция устройства позволяет подвести воронку вплотную к источнику выброса вредных веществ, что значительно повышает эффективность их захвата.

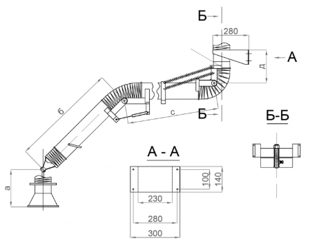
Устройство включает в себя воронку и два жестких воздуховода, соединенных между собой с помощью шарнирных узлов. Положение устройства фиксируется за счет шарниров и фрикционных механизмов, а для снижения нагрузки на них используются разгрузочные пружины.

Модели с диаметром воздуховодов 200 мм и воронки 320 мм обеспечивают пропускную способность на уровне 1600-2000 м³/ч.

Радиус обслуживания для устройств МАТ-501 200 зависит от исполнения:

  • 2 м — базовая версия (без индекса);
  • 3,2 м — модификация с индексом «У»;
  • 4 м — модификация с индексом «УМ».

Особенности МАТ-501 200

  • Оснащено кронштейном для монтажа на стене или колонне.
  • Оптимальная высота установки — 2-2,25 м.
  • Верхнее подключение воздуховода (под опорой).
  • Радиус обслуживания — до 4 м.
  • Диаметр воздуховодов — 200 мм.
  • Для регулирования расхода воздуха предусмотрена встроенная заслонка.

Дополнительно устройство может быть оснащено:

  • вентилятором (с индексом «В»),возможно комплектация пусковой аппаратурой,
  • подсветкой, расположенной в воронке устройства (с индексом «С»),
  • воронкой ∅500мм.

Для подключения устройства к вентиляционной сети, вентилятору или фильтру в комплекте предусмотрен гибкий воздуховод (гофрированный шланг) длиной 0,7м.

Воронка с подсветкой

Для удобства нанесения разметки на свариваемые детали, возможна комплектация устройства МАТ-501 200 подсветкой, расположенной в воздухоприёмной воронке. Управление подсветкой расположено на воздухоприёмной воронке. Питание подсветки осуществляется через понижающий трансформатор от сети 220В.

Возможна модификация устройства МАТ-501 200 с вентилятором, расположенном на крепежном кронштейне вытяжного устройства, что позволяет сэкономить места, по сравнению с отдельно стоящим вентилятором. Возможно исполнение вентилятора с рабочим напряжением 380В или 220В, по умолчанию изготавливается вентилятор с рабочим напряжением 380В.

Габаритные размеры МАТ-501 200

Технические характеристики МАТ-501 200

Наименование показателей МАТ-501 200
Расход воздуха, м3/ч 1600-2000
Ø воздуховодов, мм 200
Ø воронки, мм 320
Угол поворота устройства вокруг оси, градусы 180
Угол поворота устройства вокруг оси, градусы 130
Rобсл., м 3,2
Длина а,м 311
Длина a, м 1418
Длина b, м 1660
Масса, кг 29

Аэродинамические характеристики МАТ-501 200

Назад к списку