Вы здесь

Бесконсольное вытяжное устройство МАТ-501 Н 125 

Бесконсольное вытяжное устройство МАТ-501 Н 125 предназначено для удаления загрязненного воздуха при выполнении различных производственных работ.

Конструкция устройства позволяет подвести воронку максимально близко к месту выделения вредных веществ, что значительно повышает эффективность их захвата.

Устройство включает в себя воронку и два жестких воздуховода, соединенных между собой шарнирными узлами. Фиксация положения осуществляется с помощью шарниров и фрикционов, а для уменьшения нагрузки на фрикционные элементы установлены разгрузочные пружины.

Модели с диаметром воздуховодов 125 мм и диаметром воронки 200 мм обеспечивают производительность на уровне 600-700 м³/ч.

В зависимости от исполнения, устройство МАТ-501 Н 125 может иметь разный радиус обслуживания:

  • 2 м — базовая версия (без индекса);
  • 3,2 м — модификация с индексом «У»;
  • 4 м — модификация с индексом «УМ».

Особенности МАТ-501 Н 125

  • Оснащено кронштейном для крепления к стене или колонне.
  • Рекомендуемая высота установки — от 1 до 1,15 м.
  • Воздуховод подключается сверху (под опорой).
  • Максимальный радиус обслуживания — до 4 м.
  • Диаметр воздуховодов составляет 125 мм.
  • Предусмотрена встроенная заслонка для регулирования потока воздуха.

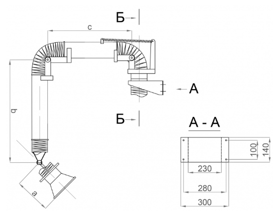
Габаритные размеры МАТ-501 Н 125

Дополнительно устройство может быть оснащено:

  • подсветкой, расположенной в воронке устройства (с индексом «С»),
  • воронкой диаметром до 350мм

Для подключения устройства к вентиляционной сети, вентилятору или фильтру в комплекте предусмотрен гибкий воздуховод (гофрированный шланг) длиной 0,7м.

Воронка с подсветкой

Для удобства нанесения разметки на свариваемые детали, возможна комплектация устройства МАТ-501 Н 125 подсветкой, расположенной в воздухоприёмной воронке. Управление подсветкой расположено на воздухоприёмной воронке. Питание подсветки осуществляется через понижающий трансформатор от сети 220В.

Технические характеристики МАТ-501 Н 125

Наименование показателей МАТ-501 Н 125
Расход воздуха, м3/ч 600-700
Ø воздуховодов, мм 125
Ø воронки, мм 200
Угол поворота устройства вокруг оси, градусы 180
Угол поворота устройства вокруг оси, градусы 130
Rобсл., м 2
Длина а, м 311
Длина b, м 818
Длина c, м 960
Масса, кг 18

Аэродинамические характеристики МАТ-501 Н 125

Назад к списку