Вы здесь

Бесконсольное вытяжное устройство МАТ-501 Н 200 

Бесконсольное вытяжное устройство МАТ-501 Н 200 применяется для удаления загрязненного воздуха при проведении различных технологических процессов.

Конструкция устройства позволяет подвести воронку максимально близко к месту выделения вредных веществ, что обеспечивает высокую эффективность их захвата.

Устройство состоит из воронки и двух жестких воздуховодов, соединенных между собой шарнирными узлами. Для фиксации положения предусмотрены шарниры и фрикционы, а для снижения нагрузки на фрикционные узлы используются разгрузочные пружины.

Модели с воздуховодами диаметром 200 мм и воронкой диаметром 320 мм обеспечивают пропускную способность в диапазоне 1600-2000 м³/ч.

Радиус обслуживания для МАТ-501 200 зависит от конкретного исполнения:

  • 2 м — базовая версия (без индекса);
  • 3,2 м — версия с индексом «У»;
  • 4 м — версия с индексом «УМ».

Основные МАТ-501 Н 200

  • Оборудовано кронштейном для монтажа на стену или колонну.
  • Рекомендуемая высота установки — от 1 до 1,15 м.
  • Подключение к воздуховоду производится сверху (под опорой).
  • Радиус обслуживания — до 4 м.
  • Диаметр воздуховодов — 200 мм.
  • Имеется встроенная заслонка для регулировки объема удаляемого воздуха.

Дополнительно устройство может быть оснащено:

  • подсветкой, расположенной в воронке устройства (с индексом «С»).
  • воронкой диаметром до 500 мм.

Для подключения устройства к вентиляционной сети, вентилятору или фильтру в комплекте предусмотрен гибкий воздуховод (гофрированный шланг) длиной 0,7м.

Воронка с подсветкой

Для удобства нанесения разметки на свариваемые детали, возможна комплектация устройства МАТ-501 Н 200 подсветкой, расположенной в воздухоприёмной воронке. Управление подсветкой расположено на воздухоприёмной воронке. Питание подсветки осуществляется через понижающий трансформатор от сети 220В.

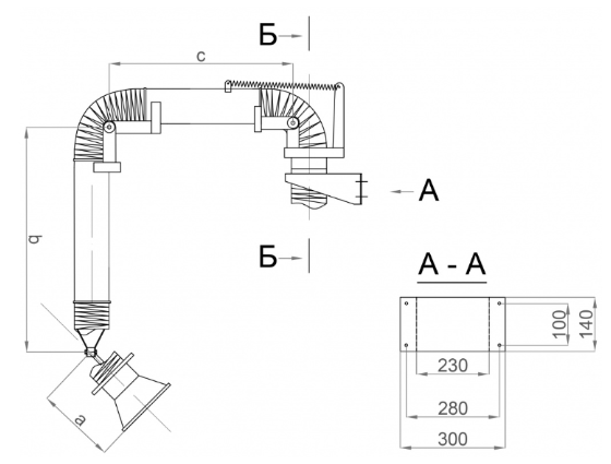
Габаритные размеры МАТ-501 Н 200

Технические характеристики МАТ-501 Н 200

Наименование показателей МАТ-501 Н 200
Расход воздуха, м3/ч 1600-2000
Ø воздуховодов, мм 200
Ø воронки, мм 320
Угол поворота устройства вокруг оси, градусы 180
Угол поворота устройства вокруг оси, градусы 130
Rобсл., м 2
Длина а, м 311
Длина a, м 818
Длина b, м 960
Масса, кг 21

Аэродинамические характеристики МАТ-501 Н 200

Назад к списку