Вы здесь

Бесконсольное вытяжное устройство МАТ-501 УМ-125 

Бесконсольное вытяжное устройство МАТ-501 УМ-125 используется для удаления загрязненного воздуха при проведении различных технологических процессов.

Конструкция позволяет подвести воронку максимально близко к месту выделения вредных веществ, что обеспечивает высокую эффективность их улавливания.

Устройство состоит из воронки и двух жестких воздуховодов, которые соединены шарнирно. Положение элементов фиксируется при помощи шарниров и фрикционных узлов, а для уменьшения нагрузки на них применяются разгрузочные пружины.

Вытяжные устройства с диаметром воздуховодов 125 мм и воронки 200 мм обеспечивают производительность от 600 до 700 м³/ч.

В зависимости от исполнения, радиус обслуживания МАТ-501 125 может составлять:

  • 2 м — стандартная версия (без индекса);
  • 3,2 м — версия с индексом «У»;
  • 4 м — версия с индексом «УМ».

Основные особенности МАТ-501 УМ-125

  • Имеется кронштейн для крепления к стене или колонне.
  • Рекомендуемая высота установки — от 2 до 2,25 м.
  • Подключение к вентиляционной сети — верхнее (под опорой).
  • Максимальный радиус обслуживания — до 4 м.
  • Диаметр воздуховодов — 125 мм.
  • Для регулировки расхода воздуха предусмотрена встроенная заслонка.

Дополнительно устройство может быть оснащено:

  • вентилятором (с индексом «В»).
  • возможно комплектация пусковой аппаратурой подсветкой, расположенной в воронке устройства (с индексом «С»).

Для подключения устройства к вентиляционной сети, вентилятору или фильтру в комплекте предусмотрен гибкий воздуховод (гофрированный шланг) длиной 0,7м.

Воронка с подсветкой

Для удобства нанесения разметки на свариваемые детали, возможна комплектация устройства МАТ-501 УМ-125 подсветкой, расположенной в воздухоприёмной воронке. Управление подсветкой расположено на воздухоприёмной воронке. Питание подсветки осуществляется через понижающий трансформатор от сети 220В.

Возможна модификация устройства МАТ-501 УМ-125 с вентилятором, расположенном на крепежном кронштейне вытяжного устройства, что позволяет сэкономить места, по сравнению с отдельно стоящим вентилятором. Возможно исполнение вентилятора с рабочим напряжением 380В или 220В, по умолчанию изготавливается вентилятор с рабочим напряжением 380В.

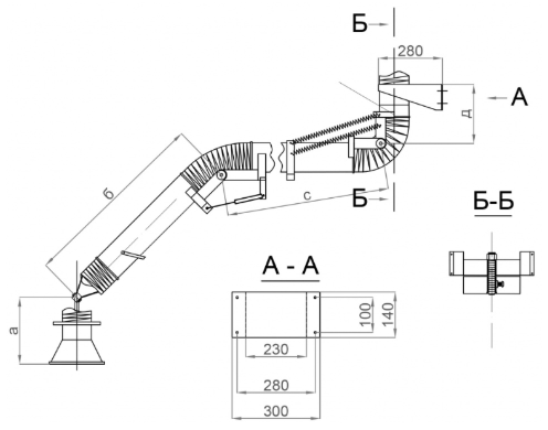
Габаритные размеры МАТ-501 УМ-125

Технические характеристики МАТ-501 УМ-125

Наименование показателей МАТ-501 УМ-125
Расход воздуха, м3/ч 600-700
Ø воздуховодов, мм 125
Ø воронки, мм 200
Угол поворота устройства вокруг оси, градусы 180
Угол поворота устройства воронки, градусы 130
Rобсл., м 4
Длина а,м 311
Длина б, м 1800
Длина с, м 1900
Масса, кг 25

Аэродинамические характеристики МАТ-501 УМ-125

Назад к списку