Вы здесь

Бесконсольное вытяжное устройство МАТ-501 УМ-160 

Бесконсольное вытяжное устройство МАТ-501 УМ-160 предназначено для удаления загрязненного воздуха, образующегося при выполнении различных технологических операций.

Конструкция устройства позволяет подвести воронку максимально близко к месту выброса вредных веществ, что обеспечивает высокую эффективность их захвата.

Устройство состоит из воронки и двух жестких воздуховодов, соединенных шарнирно. Положение устройства фиксируется с помощью шарниров и фрикционных механизмов. Для уменьшения нагрузки на фрикционы предусмотрены разгрузочные пружины.

Модели с диаметром воздуховодов 160 мм и воронки 250 мм обеспечивают производительность в диапазоне 1000-1200 м³/ч.

Радиус обслуживания устройства МАТ-501 160 зависит от исполнения:

  • 2 м — стандартная версия (без индекса);
  • 3,2 м — вариант с индексом «У»;
  • 4 м — вариант с индексом «УМ».

Основные особенности МАТ-501 УМ-160

  • Оснащено кронштейном для крепления к стене или колонне производственного помещения.
  • Поворотный кронштейн позволяет вращать консоль на 180°.
  • Установленный на консоли воздуховытяжной блок может вращаться под ней вокруг своей оси на 360°.
  • Рекомендуемая высота монтажа — от 2 до 2,25 м.
  • Верхнее подключение к воздуховоду (под опорной частью).
  • Максимальный радиус обслуживания — до 7 м.
  • Диаметр воздуховодов — 160 мм.
  • Предусмотрена заслонка для регулировки воздушного потока.

Дополнительно устройство может быть оснащено:

  • воронкой диаметром до 500мм

Для подключения устройства к вентиляционной сети, вентилятору или фильтру в комплекте предусмотрен гибкий воздуховод (гофрированный шланг) длиной 0,7м.

Воронка с подсветкой

Для удобства нанесения разметки на свариваемые детали, возможна комплектация устройства МАТ-501 УМ-160 подсветкой, расположенной в воздухоприёмной воронке. Управление подсветкой расположено на воздухоприёмной воронке. Питание подсветки осуществляется через понижающий трансформатор от сети 220В.

Возможна модификация устройства МАТ-501 УМ-160 с вентилятором, расположенном на крепежном кронштейне вытяжного устройства, что позволяет сэкономить места, по сравнению с отдельно стоящим вентилятором. Возможно исполнение вентилятора с рабочим напряжением 380В или 220В, по умолчанию изготавливается вентилятор с рабочим напряжением 380В..

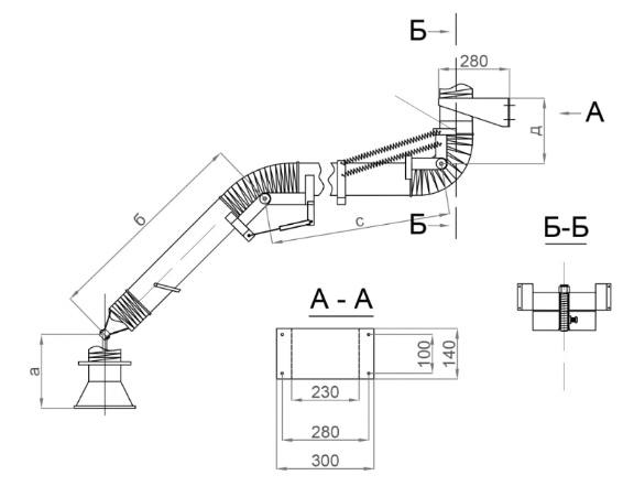
Габаритные размеры МАТ-501 УМ-160

Технические характеристики МАТ-501 УМ-160

Наименование показателей МАТ-501 УМ-160
Расход воздуха, м3/ч 1000-1200
Ø воздуховодов, мм 160
Ø воронки, мм 250
Угол поворота устройства вокруг оси, градусы 180
Угол поворота устройства воронки, градусы 130
Rобсл., м 4
Длина а,м 311
Длина б, м 1800
Длина с, м 1900
Масса, кг 28

Аэродинамические характеристики МАТ-501 УМ-160

Назад к списку