Вы здесь
Подвесные вытяжные устройства ВУ-160-МАТ
Подвесные вытяжные устройства ВУ-160-МАТ предназначены для эффективного удаления загрязненного воздуха и вредных веществ (пыли и газов), выделяющихся на стационарных и нестационарных рабочих местах в различных производствах:
- сварка;
- газовая и плазменная резка;
- шлифовка;
- полировка;
- распиловка.
Аэродинамические характеристики
Примечание:
Указаны границы диапазона потерь давления, соответствующие его максимальному и минимальному значению в зависимости от взаимного положения плеч устройства.
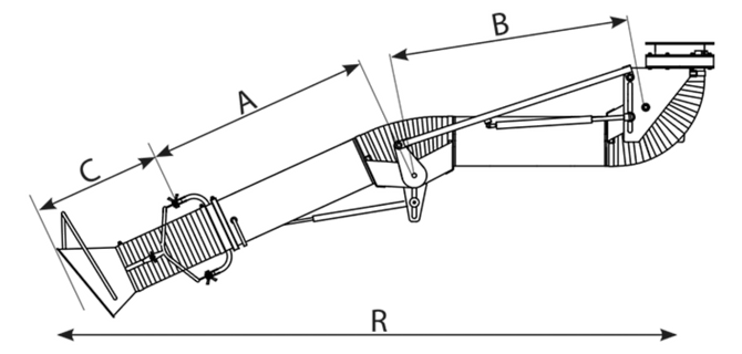
Технические характеристики
ВУ-2/160-МАТ | ВУ-3/160-МАТ | ВУ-4/160-МАТ | |
Диаметр воздуховода, мм | 160 | 160 | 160 |
А, мм | 590 | 990 | 1450 |
В, мм | 980 | 1440 | 1840 |
С, мм | 370 | 370 | 370 |
Максимальный радиус охвата, R, мм | 2,05 | 2,91 | 3,77 |
Масса, кг | 24 | 27 | 32 |
Зоны охвата
ВУ-2/160-МАТ | ВУ-3/160-МАТ | ВУ-4/160-МАТ | |
А, мм | 2050 | 2910 | 3770 |
Б, мм | 805 | 1205 | 1685 |
В, мм | 2200 | 3080 | 3940 |
Г, мм | 1980 | 2870 | 3720 |
Назад к списку