Вы здесь
Подвесные вытяжные устройства ВУ-200-МАТ
Подвесные вытяжные устройства ВУ-200-МАТ предназначены для эффективного удаления загрязненного воздуха и вредных веществ (пыли и газов), выделяющихся на стационарных и нестационарных рабочих местах в различных производствах:
- сварка;
- газовая и плазменная резка;
- шлифовка;
- полировка;
- распиловка.
Аэродинамические характеристики
Примечание:
Указаны границы диапазона потерь давления, соответствующие его максимальному и минимальному значению в зависимости от взаимного положения плеч устройства.
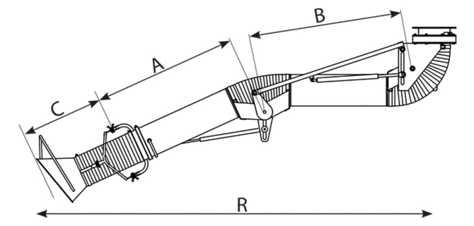
Технические характеристики
ВУ-2/200-МАТ | ВУ-3/200-МАТ | ВУ-4/200-МАТ | |
Диаметр воздуховода, мм | 200 | 200 | 200 |
А, мм | 472 | 872 | 1220 |
В, мм | 980 | 1460 | 1840 |
С, мм | 410 | 410 | 410 |
Максимальный радиус охвата, R, мм | 2,14 | 3,02 | 4,01 |
Масса, кг | 36 | 40 | 44 |
Зоны охвата
ВУ-2/200-МАТ | ВУ-3/200-МАТ | ВУ-4/200-МАТ | |
А, мм | 2140 | 3020 | 4010 |
Б, мм | 542 | 1137 | |
В, мм | 2142 | 4012 | |
Г, мм | 1648 | 3518 |