Вы здесь
Воздуховытяжные устройства Гном 100
Малогабаритное воздуховытяжное устройство «Гном-100» предназначено для удаления вредных веществ из воздуха рабочей зоны во время производственных процессов с небольшим выделением вредных веществ.
Конструкция устройства позволяет максимально приблизить воронку к источнику загрязнения, обеспечивая высокую эффективность улавливания вредных веществ. Воздуховытяжное устройство «Гном-100» состоит из воронки и двух жестких воздуховодов, соединенных между собой шарнирным механизмом. Фиксацию устройства обеспечивают шарниры и фрикционные элементы.
Выпускаемые устройства имеют диаметр воздуховодов 80 мм и диаметр воронки 150 мм, рассчитаны на расход воздуха 100-150 м³/ч. Модель «Гном-100У» имеет радиус обслуживания до 1,5 м. В конструкции предусмотрен кронштейн для крепления к стене или колонне цеха, а также к металлоконструкциям.
Рекомендуемая высота установки устройства составляет 40-50 см над рабочей поверхностью. Устройство верхнего подключения устанавливается под опорой. В комплект входит гибкий воздуховод (гофрированный шланг) диаметром 85 мм и длиной 0,5 м для подключения устройства к вентиляционной сети, вентилятору или фильтру.
Все устройства «Гном», независимо от модификации, снабжены заслонкой для регулировки расхода воздуха. Для процессов пайки и точечной сварки рекомендуется использовать устройства с фильтрами ФПА. Дополнительно устройство может быть оснащено рожковой воронкой.
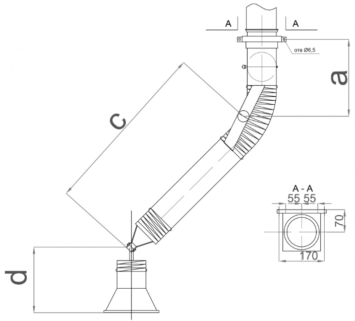
Габаритные размеры Гном-100
Технические характеристики Гном-100
Наименование показателей | «Гном-100» |
Расход воздуха, м3/ч | 150-200 |
воздуховодов, мм | 100 |
воронки, мм | 150 |
Угол поворота устройства вокруг оси, градусы | 360 |
Угол поворота устройства воронки, градусы | 130 |
Rобсл., мм | 1000 |
Длина а, мм | 330 |
Длина б, мм | - |
Длина с, мм | 600 |
Длина d, мм | 350 |
Масса, кг | 5,0 |