Вы здесь
Вытяжные устройства в кислотоустойчивом исполнении ERGO-MINI-МАТ
Вытяжные устройства в кислотоустойчивом исполнении ERGO-MINI-МАТ предназначены для удаления небольшого количества пылевых и газовых загрязнений непосредственно на рабочих местах.
Конструкция
Местные вытяжные устройства ERGO-MINI-МАТ изготавливаются в версиях, отличающихся друг от друга диаметром вентиляционного канала и радиусом рабочей зоны.

Технические характеристики

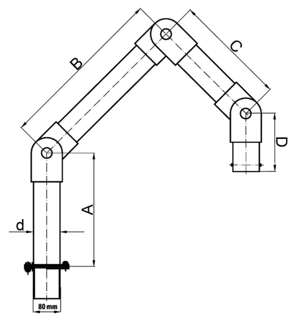
| ERGO-MINI/K-50/3-950-МАТ | ERGO-MINI/K-75/3-1150-МАТ | |
| Радиус рабочей зоны, мм | 700 | 900 |
| Диаметр воздуховода, d, мм | 50 | 75 |
| А, мм | 250 | 250 |
| В, мм | 350 | 450 |
| C, мм | 250 | 350 |
| D, мм | 100 | 125 |
| Масса, кг | 2,1 | 3,5 |
| Сопротивление течению при расходе 120 м³/час, Па | 490 | 220 |
Назад к списку



