Баки для воды БВ-0,25, БВ-0,75 и БВ-0,9 

Баки для воды БВ-0,25, БВ-0,75 и БВ-0,9 функционируют под давлением водопроводной сети и предназначены для хранения обязательного запаса питьевой воды на случай аварийного повреждения внешнего участка водопровода.

При подсоединении баков для воды БВ-0,25, БВ-0,75 и БВ-0,9 к водопроводной сети, при нарушении работы внешнего водопровода обязаны  выполнятся следующие условия:

  • подающий трубопровод от ввода сети приподнимается над баками на 0,1м;
  • на подающем трубопроводе необходимо установить обратный клапан;
  • забор воды из баков к санитарным приборам выполняется через верхний патрубок (при аварийной ситуации на водопроводной сети, таким образом подача воды к санитарным приборам автоматически останавливается);
  • водоразборный кран подсоединяется к патрубку, установленному в нижней части бака, и служит для заполнения  бачков, фляг, и других переносных емкостей.

При необходимости, допускается размещать сразу несколько баков, соединяя их между собой, и обеспечивая   проточность воды через все баки. При такой установке баков водоразборный кран устанавливается один на два бака.

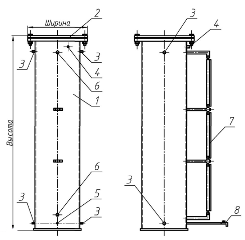
Основные комплектующие и принцип работы

  1. Корпус
  2. Крышка
  3. Патрубок подающий (отводящий) воду
  4. Патрубок воздушный
  5. Патрубок для подключения водоразборного крана
  6. Патрубок для присоединения указателя уровня
  7. Указатель уровня
  8. Водоразборный кран

Технические характеристики БВ-0,25, БВ-0,75 и БВ-0,9

Параметр БВ-0,25 БВ-0,75 БВ-0,9
Емкость бака, м3 0,25 0,75 0,9
Габаритные размеры, мм: ширина высота 565±5 1850 750±5 1900 750±5 2500
Масса, кг 230 650 750

Комплектность БВ-0,25, БВ-0,75 и БВ-0,9

  • бак для воды БВ-0,25, БВ-0,75 или БВ-0,9;
  • паспорт;
  • техническое описание;
  • руководство по эксплуатации.

Обозначение БВ-0,25, БВ-0,75 и БВ-0,9

  • Б – бак
  • В – водяной
  • 0,25/0,75/0,9 – емкость бака в м³
Назад к списку